Труба в ППУ изоляции
- Определение
- Производство
- Классификация труб в ППУ изоляции
- Назначение
- Параметры и размеры труб в ППУ изоляции
- Толщина изоляции для трубы в ППУ изоляции
Определение
Труба в ППУ изоляции – стальная труба с тепловой изоляцией из пенополиуретана и внешней защитной оболочкой из полиэтилена или оцинкованной стали. Также трубы в ППУ изоляции носят название предизолированных, предварительно изолированных (ПИ трубы) либо теплогидроизолированных труб (ТГИ ППУ трубы). Трубы в ППУ изоляции предназначены для прокладки тепловых сетей. Допускается использование труб в ППУ изоляции при транспортировке нефти, газа и других веществ.
Производство
Производство труб в ППУ регламентируется положениями ГОСТ 30732-2006 «ТРУБЫ И ФАСОННЫЕ ИЗДЕЛИЯ СТАЛЬНЫЕ С ТЕПЛОВОЙ ИЗОЛЯЦИЕЙ ИЗ ПЕНОПОЛИУРЕТАНА С ЗАЩИТНОЙ ОБОЛОЧКОЙ».
Классификация труб в ППУ изоляции
В соответствии с видом материала, который используется в качестве защитной оболочки, трубы ППУ бывают:
- Трубы в ППУ в оцинкованной оболочке (применяются при монтаже трубопроводов, которые проходят над землей, а также в проходных каналах и помещениях тоннелей);
- Трубы в ППУ в полиэтиленовой оболочке (используются для прокладки трубопроводов, которые проходят под землей).
В соответствии с толщиной слоя изоляции трубы ППУ бывают:
- Первый тип изоляции (стандартный) –применяется для прокладки трубопроводов, которые монтируются на территориях с умеренными климатическими показателями;
- Второй тип изоляции (усиленный) – используются для монтажа трубопроводов, которые проходят в холодных климатических зонах.
Использование данных типов изоляции в соответствии с существующими климатическими особенностями РФ отражено в пункте Б.10 ГОСТ 30732-2006.
Назначение
Трубы в ППУ изоляции предназначены для транспортировки теплоносителя со следующими параметрами: рабочее давление не более 1,6 МПа и температура не более 140 °С. При этом, в соответствии с приложением А ГОСТ 30732-2006,возможно повышение температуры до показателей не более 150 °С.
Параметры и размеры труб в ППУ изоляции
Изготовление труб в ППУ изоляции осуществляется по технологии «Труба в трубе».
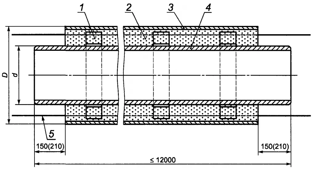
Конструкция трубы в ППУ изоляции должна быть следующей:
1 — центрирующая опора; 2 — изоляция из ППУ; 3 — труба-оболочка; 4 — стальная труба;
5 — проводники-индикаторы системы оперативного дистанционного контроля (показаны условно)
Размеры труб:
Наружный диаметр стальной трубы предусматривает размер от 32 до 1420 мм. При изготовлении труб, изолированных ППУ, используются стальные трубы следующей длины:
- Для труб до 219 диаметра длина составляет от 8 до 12 м включительно;
- Для труб с 273 диаметром и выше –длина варьируется от 10 до 12 м.
Размер труб в полиэтиленовой оболочке указан в пункте 4.5 таблица 1 ГОСТ 30732-2006:
Таблица 1 — Размеры труб в полиэтиленовой оболочке
В миллиметрах
|
Наружный диаметр и минимальная толщина стенки стальных труб |
Тип 1 |
Тип 2 | ||||
|
Средний наружный диаметр изолированных труб с полиэтиленовой оболочкой |
Расчетная толщина слоя пенополиуретана |
Средний наружный диаметр изолированных труб с полиэтиленовой оболочкой |
Расчетная толщина слоя пенополиуретана | |||
|
Номинальный |
Предельное отклонение (+) |
Номинальный |
Предельное отклонение (+) | |||
|
32´3,0 |
90; 110; 125 |
2,7; 3,5; 3,7 |
26,0; 36,5; 43,5 |
— |
— |
— |
|
38´3,0 |
110; 125 |
3,2; 3,7 |
33,0; 40,5 |
— |
— |
— |
|
45´3,0 |
125 |
3,7 |
37,0 |
— |
— |
— |
|
57´3,0 |
125 |
3,7 |
31,5 |
140 |
4,1 |
38,5 |
|
76´3,0 |
140 |
4,1 |
29,0 |
160 |
4,7 |
39,0 |
|
89´4,0 |
160 |
4,7 |
32,5 |
180 |
5,4 |
42,5 |
|
108´4,0 |
180 |
5,4 |
33,0 |
200 |
5,9 |
43,0 |
|
133´4,0 |
225 |
6,6 |
42,5 |
250 |
7,4 |
54,5 |
|
159´4,5 |
250 |
7,4 |
41,5 |
280 |
8,3 |
55,5 |
|
219´6,0 |
315 |
9,8 |
42,0 |
355 |
10,4 |
62,0 |
|
273´7,0 |
400 |
11,7 |
57,0 |
450 |
13,2 |
81,5 |
|
325´7,0 |
450 |
13,2 |
55,5 |
500 |
14,6 |
79,5 |
|
426´7,0 |
560 |
16,3 |
58,2 |
600; 630 |
16,3 |
77,6; 92,5 |
|
530´7,0 |
710 |
20,4 |
78,9 |
— |
— |
— |
|
630´8,0 |
800 |
23,4 |
72,5 |
— |
— |
— |
|
720´8,0 |
900 |
26,3 |
76,0 |
— |
— |
— |
|
820´9,0 |
1000 |
29,2 |
72,4 |
1100 |
32,1 |
122,5 |
|
920´10,0 |
1100 |
32,1 |
74,4 |
1200 |
35,1 |
120,5 |
|
1020´11,0 |
1200 |
35,1 |
70,4 |
— |
— |
— |
|
1220´11,0 |
1425 |
38,2 |
79,0 |
— |
— |
— |
|
1420´12,0 |
1600 |
41,2 |
90,0 |
— |
— |
— |
Толщина стенки и диаметра стальной трубы может изменяться по требованию заказчика. Также возможно производство труб, содержащих бандажи, на основании чертежей заводов-производителей.
Размер труб в оцинкованной (стальной) оболочке должны соответствовать пункту 4.7 таблица 2 ГОСТ 30732-2006:
Таблица 2 — Размеры труб в стальной оболочке
В миллиметрах
|
Наружный диаметр стальной трубы и минимальная толщина стенки стальной трубы |
Размеры оболочки из тонколистовой оцинкованной стали |
Расчетная толщина слоя пенополиуретана | |
|
Номинальный диаметр |
Минимальная толщина | ||
|
32´3,0 |
100; 125; 140 |
0,55 |
46,0; 53,5 |
|
38´3,0 |
125; 140 |
0,55 |
43,0; 50,5 |
|
45´3,0 |
125; 140 |
0,55 |
39,5; 47,0 |
|
57´3,0 |
140 |
0,55 |
40,9 |
|
76´3,0 |
160 |
0,55 |
41,4 |
|
89´4,0 |
180 |
0,6 |
44,9 |
|
108´4,0 |
200 |
0,6 |
45,4 |
|
133´4,0 |
225 |
0,6 |
45,4 |
|
159´4,5 |
250 |
0,7 |
44,8 |
|
219´6,0 |
315 |
0,7 |
47,3 |
|
273´7,0 |
400 |
0,8 |
62,7 |
|
325´7,0 |
450 |
0,8 |
61,7 |
|
426´7,0 |
560 |
1,0 |
66,2 |
|
530´7,0 |
675; 710 |
1,0 |
71,5; 89,0 |
|
630´8,0 |
775; 800 |
1,0 |
71,5; 84,0 |
|
720´8,0 |
875; 900 |
1,0 |
76,5; 89,0 |
|
820´9,0 |
975; 1000 |
1,0 |
76,5; 89,0 |
|
920´10,0 |
1075; 1100 |
1,0 |
76,5; 89,0 |
|
1020´11,0 |
1175; 1200 |
1,0 |
76,7; 89,2 |
|
1220´11,0 |
1375; 1400 |
1,0 |
79,0; 91,5 |
|
1420´12,0 |
1575;1600 |
1,0 |
77,0; 89,5 |
Данные размеры носят справочный характер и могут уточняться в соответствии с СНиП 41-03-2003 и СП 41-103-2000.
Длина не изолированных концов стальных труб должна составлять не менее 150-20 мм для труб, которые предусматривают диаметр оболочки до 315 мм включительно и 210-20 мм — для труб, диаметром оболочки 400 мм и более.Длина оболочек на основе полиэтилена и оцинковки должна соответствовать размеру теплоизолирующего слоя. При этом допускается возможное отклонение плюс 50 мм с каждой стороны оболочки.
Размеры и предельные отклонения полиэтиленовых труб-оболочек должны соответствовать значениям,приведенным в пункте 4.13 таблице 3 ГОСТ 30732-2006:
Таблица 3 — Размеры полиэтиленовых труб-оболочек
В миллиметрах
|
Средний наружный диаметр |
Толщина стенки | ||
|
Номинальный |
Предельное отклонение |
Минимальная |
Предельное отклонение |
|
90 |
+0,9 |
2,2 |
+0,4 |
|
110 |
+1,0 |
2,5 |
+0,5 |
|
125 |
+1,2 |
2,5 |
+0,5 |
|
140 |
+1,3 |
3,0 |
+0,5 |
|
160 |
+1,5 |
3,0 |
+0,5 |
|
180 |
+1,7 |
3,0 |
+0,5 |
|
200 |
+1,8 |
3,2 |
+0,5 |
|
225 |
+2,1 |
3,5 |
+0,6 |
|
250 |
+2,3 |
3,9 |
+0,7 |
|
280 |
+2,6 |
4,4 |
+0,7 |
|
315 |
+2,9 |
4,9 |
+0,7 |
|
355 |
+3,2 |
5,6 |
+0,8 |
|
400 |
+3,6 |
5,6 |
+0,9 |
|
450 |
+4,1 |
5,6 |
+1,1 |
|
500 |
+4,5 |
6,2 |
+1,2 |
|
560 |
+5,0 |
7,0 |
+1,3 |
|
630 |
+5,7 |
7,9 |
+1,5 |
|
710 |
+6,4 |
8,9 |
+1,7 |
|
800 |
+7,2 |
10,0 |
+1,9 |
|
900 |
+8,1 |
11,2 |
+2,2 |
|
1000 |
+9,0 |
12,4 |
+2,4 |
|
1100 |
+9,9 |
13,8 |
+2,7 |
|
1200 |
+10,8 |
14,9 |
+2,9 |
|
1425 |
+12,6 |
17,3 |
+3,4 |
|
1600 |
+14,4 |
19,6 |
+3,9 |
Отклонения осевых линий оцинкованной (стальной) трубы-оболочки должны соответствовать пункту 4.14 таблица 4 ГОСТ 30732-2006:
Таблица 4 — Отклонение осевых линий стальной трубы и оболочки
В миллиметрах
|
Наружный диаметр оболочек |
Отклонение осевых линий |
|
До 160 включ. |
3,5 |
|
Св. 160 до 400 включ. |
5,0 |
|
Св. 400 до 630 включ. |
8,0 |
|
Св. 630 до 800 включ. |
10,0 |
|
Св. 800 до 1200 включ. |
14,0 |
|
Св. 1200 до 1375 включ. |
16,0 |
|
Св. 1375 до 1600 включ. |
18,0 |
Изолированные трубы должны быть оснащены проводниками системы ОДК.
Толщина изоляции для трубы в ППУ изоляции
Толщина изоляции рассчитывается по СНиП 41-03-2003 с использованием нормированной плотности теплового потока, рассчитанной по тому же СНиПу. Значение температуры окружающей среды определяется как среднегодовая температура воздуха, рассчитанная на основании СНиП 23-01-99. Глубина залегания верхней части теплоизолированной конструкции должна располагаться на уровне не менее 0,7 м от поверхности земли. При этом самым распространенным видом грунта является суглинок, влагосодержание которого предусматривает значение 0,27 кг/кг, а проводимость тепла - 1,86 Вт/м·°С. Расчетные значения ППУ изоляции составляют 0,033 Вт/м·°С.









