Тройниковое ответвление в ППУ изоляции
Определение
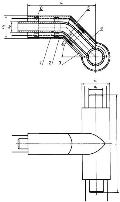
Тройниковое ответвление в ППУ изоляции – фасонное изделие для тепловой сети по ГОСТ 30732-2006, предназначенное для слияния или разделения потоков вещества, идущего по трубопроводу. Данный тройник бывает равнопроходного и неравнопроходного типа. Особенность тройникового ответвления заключается в том, что ответвление располагается перпендикулярно основному потоку, в плоскости, параллельной плоскости основного потока.
Конструктив тройникового ответвления в ППУ изоляции
Тройниковое ответвление в изоляции ППУ регламентируется В.4 ГОСТ 30732-2006

1 — стальной отвод; 2 — оболочка; 3 — проводник—индикатор системы ОДК; 4 — изоляция из пенополиуретана; 5 — электроизоляционная трубка (для труб со стальной оболочкой);6 — центрирующая опора
Размеры тройникового ответвления в ППУ изоляции приведены в следующей таблице:
В миллиметрах
|
d2 |
d1 |
32 |
38 |
45 |
57 |
76 |
89 |
108 |
133 |
159 |
219 |
273 |
325 |
426 |
530 |
630 |
720 |
820 |
920 |
1020 |
1220 |
1420 |
|
L |
1200 |
1200 |
1200 |
1200 |
1300 |
1300 |
1300 |
1300 |
1400 |
1400 |
1800 |
1800 |
1900 |
2000 |
2000 |
2000 |
2000 |
2100 |
2100 |
2400 |
2700 | |
|
32 |
L1 |
730 |
730 |
730 |
730 |
760 |
790 |
810 |
850 |
880 |
980 |
|
|
|
|
|
|
|
|
|
|
|
|
38 |
L1 |
|
730 |
730 |
730 |
760 |
790 |
810 |
850 |
880 |
980 |
1100 |
|
|
|
|
|
|
|
|
|
|
|
45 |
L1 |
|
|
730 |
730 |
760 |
790 |
810 |
850 |
880 |
980 |
1100 |
1170 |
|
|
|
|
|
|
|
|
|
|
57 |
L1 |
|
|
|
730 |
760 |
790 |
810 |
850 |
880 |
980 |
1100 |
1170 |
1320 |
|
|
|
|
|
|
|
|
|
76 |
L1 |
|
|
|
|
770 |
800 |
820 |
860 |
900 |
990 |
1110 |
1180 |
1330 |
1550 |
|
|
|
|
|
|
|
|
89 |
L1 |
|
|
|
|
|
810 |
830 |
870 |
910 |
1000 |
1120 |
1190 |
1340 |
1560 |
1680 |
|
|
|
|
|
|
|
108 |
L1 |
|
|
|
|
|
|
850 |
880 |
920 |
1010 |
1130 |
1200 |
1360 |
1570 |
1700 |
1840 |
|
|
|
|
|
|
133 |
L1 |
|
|
|
|
|
|
|
900 |
930 |
1030 |
1150 |
1220 |
1370 |
1580 |
1710 |
1850 |
1990 |
|
|
|
|
|
159 |
L1 |
|
|
|
|
|
|
|
|
950 |
1040 |
1160 |
1230 |
1390 |
1600 |
1730 |
1870 |
2010 |
2140 |
|
|
|
|
219 |
L1 |
|
|
|
|
|
|
|
|
|
1070 |
1190 |
1260 |
1420 |
1630 |
1760 |
1900 |
2040 |
2180 |
2290 |
|
|
|
273 |
L1 |
|
|
|
|
|
|
|
|
|
|
1220 |
1290 |
1450 |
1660 |
1790 |
1930 |
2070 |
2220 |
2330 |
2630 |
|
|
325 |
L1 |
|
|
|
|
|
|
|
|
|
|
|
1320 |
1480 |
1690 |
1820 |
1940 |
2100 |
2260 |
2380 |
2680 |
2980 |
|
426 |
L1 |
|
|
|
|
|
|
|
|
|
|
|
|
1540 |
1750 |
1880 |
2020 |
2160 |
2300 |
2420 |
2720 |
3020 |
|
530 |
L1 |
|
|
|
|
|
|
|
|
|
|
|
|
|
1710 |
1840 |
1980 |
2120 |
2340 |
2460 |
2760 |
3060 |
|
630 |
L1 |
|
|
|
|
|
|
|
|
|
|
|
|
|
|
1940 |
2080 |
2230 |
2380 |
2510 |
2810 |
3110 |
|
720 |
L1 |
|
|
|
|
|
|
|
|
|
|
|
|
|
|
|
2120 |
2260 |
2420 |
2555 |
2855 |
3155 |
|
820 |
L1 |
|
|
|
|
|
|
|
|
|
|
|
|
|
|
|
|
2310 |
2455 |
2590 |
2890 |
3190 |
|
920 |
L1 |
|
|
|
|
|
|
|
|
|
|
|
|
|
|
|
|
|
2490 |
2640 |
2940 |
3240 |
|
1020 |
L1 |
|
|
|
|
|
|
|
|
|
|
|
|
|
|
|
|
|
|
2680 |
2980 |
3280 |
|
1220 |
L1 |
|
|
|
|
|
|
|
|
|
|
|
|
|
|
|
|
|
|
|
3020 |
3320 |
|
1420 |
L1 |
|
|
|
|
|
|
|
|
|
|
|
|
|
|
|
|
|
|
|
|
3370 |
Возможно удлинение L трубопровода с каждой стороны на величину DL при монтаже на строительной площадке . Значения DL приведены в следующей таблице:
В миллиметрах
|
d2 |
d1 |
32 |
38 |
45 |
57 |
76 |
89 |
108 |
133 |
159 |
219 |
273 |
325 |
426 |
530 |
630 |
720 |
820 |
920 |
1020 |
1220 |
1420 |
|
L |
1200 |
1200 |
1200 |
1200 |
1300 |
1300 |
1300 |
1300 |
1400 |
1400 |
1800 |
1800 |
1900 |
2000 |
2000 |
2000 |
2000 |
2100 |
2100 |
2400 |
2700 | |
|
32 |
DL |
20 |
20 |
20 |
20 |
70 |
70 |
70 |
70 |
120 |
120 |
320 |
320 |
370 |
|
|
|
|
|
|
|
|
|
38 |
DL |
|
20 |
20 |
20 |
70 |
70 |
70 |
70 |
120 |
120 |
320 |
320 |
370 |
|
|
|
|
|
|
|
|
|
45 |
DL |
|
|
20 |
20 |
70 |
70 |
70 |
70 |
120 |
120 |
320 |
320 |
370 |
|
|
|
|
|
|
|
|
|
57 |
DL |
|
|
|
20 |
70 |
70 |
70 |
70 |
120 |
120 |
320 |
320 |
370 |
|
|
|
|
|
|
|
|
|
76 |
DL |
|
|
|
|
60 |
60 |
60 |
60 |
110 |
110 |
310 |
310 |
360 |
400 |
|
|
|
|
|
|
|
|
89 |
DL |
|
|
|
|
|
50 |
50 |
50 |
100 |
100 |
300 |
300 |
350 |
400 |
300 |
|
|
|
|
|
|
|
108 |
DL |
|
|
|
|
|
|
40 |
40 |
90 |
90 |
290 |
290 |
340 |
390 |
300 |
250 |
|
|
|
|
|
|
133 |
DL |
|
|
|
|
|
|
|
28 |
78 |
78 |
278 |
278 |
328 |
378 |
300 |
250 |
200 |
|
|
|
|
|
159 |
DL |
|
|
|
|
|
|
|
|
65 |
65 |
265 |
265 |
315 |
365 |
300 |
250 |
200 |
200 |
|
|
|
|
219 |
DL |
|
|
|
|
|
|
|
|
|
33 |
233 |
233 |
283 |
333 |
300 |
250 |
200 |
200 |
200 |
|
|
|
273 |
DL |
|
|
|
|
|
|
|
|
|
|
140 |
140 |
190 |
240 |
240 |
240 |
200 |
200 |
200 |
200 |
|
|
325 |
DL |
|
|
|
|
|
|
|
|
|
|
|
115 |
165 |
215 |
215 |
215 |
200 |
200 |
200 |
200 |
245 |
|
426 |
DL |
|
|
|
|
|
|
|
|
|
|
|
|
110 |
160 |
160 |
160 |
160 |
200 |
200 |
200 |
245 |
|
530 |
DL |
|
|
|
|
|
|
|
|
|
|
|
|
|
85 |
85 |
85 |
85 |
135 |
135 |
200 |
245 |
|
630 |
DL |
|
|
|
|
|
|
|
|
|
|
|
|
|
|
40 |
40 |
40 |
90 |
90 |
200 |
245 |
|
720 |
DL |
|
|
|
|
|
|
|
|
|
|
|
|
|
|
|
0 |
0 |
40 |
40 |
200 |
245 |
|
820 |
DL |
|
|
|
|
|
|
|
|
|
|
|
|
|
|
|
|
0 |
0 |
0 |
200 |
245 |
|
920 |
DL |
|
|
|
|
|
|
|
|
|
|
|
|
|
|
|
|
|
0 |
0 |
160 |
245 |
|
1020 |
DL |
|
|
|
|
|
|
|
|
|
|
|
|
|
|
|
|
|
|
0 |
110 |
245 |
|
1220 |
DL |
|
|
|
|
|
|
|
|
|
|
|
|
|
|
|
|
|
|
|
0 |
160 |
|
1420 |
DL |
|
|
|
|
|
|
|
|
|
|
|
|
|
|
|
|
|
|
|
|
0 |
Данные фасонные изделия производятся в полиэтиленовой или стальной (оцинкованной) защитной оболочке. Наружный диаметр данного соединения предусматривает значения от 32 до 1420 мм. Диаметр, ГОСТ, марка стали и толщина стенки стальной трубы; толщина изоляции и тип защитной оболочки тройникового ответвления в ППУ изоляции должны соответствовать аналогичным параметрам прямых участков трубопровода. Тройниковые ответвления в ППУ изоляции должны быть оснащены проводниками системы ОДК.




