Тройник в ППУ изоляци
Определение
Тройник в ППУ изоляции – фасонное изделие тепловой сети по ГОСТ 30732-2006, предназначенное для разделения или слияния потоков вещества, идущего по трубопроводу.
Виды тройников
- Равнопроходные;
- Неравнопроходные.
Конструкция тройника в ППУ изоляции
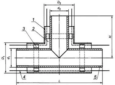
Тройник в изоляцииППУ и должен иметь конструкцию, соответствующий пункту В.3 ГОСТ 30732-2006

1 — оболочка; 2 — изоляция из пенополиуретана; 3 — центрирующая опора;4 — проводник—индикатор системы ОДК; 5 — стальная труба
Размеры тройника в ППУ изоляции приведены в следующей таблице:
В миллиметрах
| d2 | d1 | 32 | 38 | 45 | 57 | 76 | 89 | 108 | 133 | 159 | 219 | 273 | 325 | 426 | 530 | 630 | 720 | 820 | 920 | 1020 | 1220 | 1420 | 
| L | 1200 | 1200 | 1200 | 1200 | 1300 | 1300 | 1300 | 1300 | 1400 | 1400 | 1800 | 1800 | 1900 | 2000 | 2000 | 2000 | 2000 | 2100 | 2100 | 2400 | 2700 | |
| 32 | Н | 700 | 700 | 700 | 700 | 700 | 700 | 700 | 700 | 700 | 700 | 900 | 900 | 1000 | 1000 | 1000 | 1100 | 1200 | 1200 | 1300 | 1400 | 1500 | 
| 38 | Н | 
 | 700 | 700 | 700 | 700 | 700 | 700 | 700 | 700 | 700 | 900 | 900 | 1000 | 1000 | 1000 | 1100 | 1200 | 1200 | 1300 | 1400 | 1500 | 
| 45 | Н | 
 | 
 | 700 | 700 | 700 | 700 | 700 | 700 | 700 | 700 | 900 | 900 | 1000 | 1000 | 1000 | 1100 | 1200 | 1200 | 1300 | 1400 | 1500 | 
| 57 | Н | 
 | 
 | 
 | 700 | 700 | 700 | 700 | 700 | 700 | 700 | 900 | 900 | 1000 | 1000 | 1000 | 1100 | 1200 | 1200 | 1300 | 1400 | 1500 | 
| 76 | Н | 
 | 
 | 
 | 
 | 700 | 700 | 700 | 700 | 700 | 700 | 900 | 900 | 1000 | 1000 | 1000 | 1100 | 1200 | 1200 | 1300 | 1400 | 1500 | 
| 89 | Н | 
 | 
 | 
 | 
 | 
 | 700 | 700 | 700 | 700 | 700 | 900 | 900 | 1000 | 1000 | 1000 | 1100 | 1200 | 1200 | 1300 | 1400 | 1500 | 
| 108 | Н | 
 | 
 | 
 | 
 | 
 | 
 | 700 | 700 | 700 | 700 | 900 | 900 | 1000 | 1000 | 1000 | 1100 | 1200 | 1200 | 1300 | 1400 | 1500 | 
| 133 | Н | 
 | 
 | 
 | 
 | 
 | 
 | 
 | 700 | 700 | 700 | 900 | 900 | 1000 | 1000 | 1000 | 1100 | 1200 | 1200 | 1300 | 1400 | 1500 | 
| 159 | Н | 
 | 
 | 
 | 
 | 
 | 
 | 
 | 
 | 700 | 700 | 900 | 900 | 1000 | 1000 | 1000 | 1100 | 1200 | 1200 | 1300 | 1400 | 1500 | 
| 219 | Н | 
 | 
 | 
 | 
 | 
 | 
 | 
 | 
 | 
 | 700 | 900 | 900 | 1000 | 1000 | 1000 | 1100 | 1200 | 1200 | 1300 | 1400 | 1500 | 
| 273 | Н | 
 | 
 | 
 | 
 | 
 | 
 | 
 | 
 | 
 | 
 | 900 | 900 | 1000 | 1000 | 1000 | 1100 | 1200 | 1200 | 1300 | 1400 | 1500 | 
| 325 | Н | 
 | 
 | 
 | 
 | 
 | 
 | 
 | 
 | 
 | 
 | 
 | 900 | 1000 | 1000 | 1000 | 1100 | 1200 | 1200 | 1300 | 1400 | 1500 | 
| 426 | Н | 
 | 
 | 
 | 
 | 
 | 
 | 
 | 
 | 
 | 
 | 
 | 
 | 1000 | 1000 | 1000 | 1100 | 1200 | 1200 | 1300 | 1400 | 1500 | 
| 530 | Н | 
 | 
 | 
 | 
 | 
 | 
 | 
 | 
 | 
 | 
 | 
 | 
 | 
 | 1000 | 1000 | 1100 | 1200 | 1200 | 1300 | 1400 | 1500 | 
| 630 | Н | 
 | 
 | 
 | 
 | 
 | 
 | 
 | 
 | 
 | 
 | 
 | 
 | 
 | 
 | 1000 | 1100 | 1200 | 1200 | 1300 | 1400 | 1500 | 
| 720 | Н | 
 | 
 | 
 | 
 | 
 | 
 | 
 | 
 | 
 | 
 | 
 | 
 | 
 | 
 | 
 | 1100 | 1200 | 1200 | 1300 | 1400 | 1500 | 
| 820 | Н | 
 | 
 | 
 | 
 | 
 | 
 | 
 | 
 | 
 | 
 | 
 | 
 | 
 | 
 | 
 | 
 | 1200 | 1200 | 1300 | 1400 | 1500 | 
| 920 | Н | 
 | 
 | 
 | 
 | 
 | 
 | 
 | 
 | 
 | 
 | 
 | 
 | 
 | 
 | 
 | 
 | 
 | 1200 | 1300 | 1400 | 1500 | 
| 1020 | Н | 
 | 
 | 
 | 
 | 
 | 
 | 
 | 
 | 
 | 
 | 
 | 
 | 
 | 
 | 
 | 
 | 
 | 
 | 1300 | 1400 | 1500 | 
| 1220 | Н | 
 | 
 | 
 | 
 | 
 | 
 | 
 | 
 | 
 | 
 | 
 | 
 | 
 | 
 | 
 | 
 | 
 | 
 | 
 | 1400 | 1500 | 
| 1420 | Н | 
 | 
 | 
 | 
 | 
 | 
 | 
 | 
 | 
 | 
 | 
 | 
 | 
 | 
 | 
 | 
 | 
 | 
 | 
 | 
 | 1500 | 
Возможно удлинение L трубопровода с каждой стороны на величину DL при монтаже на строительной площадке . Значения DL приведены в следующей таблице:
В миллиметрах
| d2 | d1 | 32 | 38 | 45 | 57 | 76 | 89 | 108 | 133 | 159 | 219 | 273 | 325 | 426 | 530 | 630 | 720 | 820 | 920 | 1020 | 1220 | 1420 | 
| L | 1200 | 1200 | 1200 | 1200 | 1300 | 1300 | 1300 | 1300 | 1400 | 1400 | 1800 | 1800 | 1900 | 2000 | 2000 | 2000 | 2000 | 2100 | 2100 | 2400 | 2700 | |
| 32 | DL | 20 | 20 | 20 | 20 | 70 | 70 | 70 | 70 | 120 | 120 | 320 | 320 | 370 | 
 | 
 | 
 | 
 | 
 | 
 | 
 | 
 | 
| 38 | DL | 
 | 20 | 20 | 20 | 70 | 70 | 70 | 70 | 120 | 120 | 320 | 320 | 370 | 
 | 
 | 
 | 
 | 
 | 
 | 
 | 
 | 
| 45 | DL | 
 | 
 | 20 | 20 | 70 | 70 | 70 | 70 | 120 | 120 | 320 | 320 | 370 | 
 | 
 | 
 | 
 | 
 | 
 | 
 | 
 | 
| 57 | DL | 
 | 
 | 
 | 20 | 70 | 70 | 70 | 70 | 120 | 120 | 320 | 320 | 370 | 
 | 
 | 
 | 
 | 
 | 
 | 
 | 
 | 
| 76 | DL | 
 | 
 | 
 | 
 | 60 | 60 | 60 | 60 | 110 | 110 | 310 | 310 | 360 | 400 | 
 | 
 | 
 | 
 | 
 | 
 | 
 | 
| 89 | DL | 
 | 
 | 
 | 
 | 
 | 50 | 50 | 50 | 100 | 100 | 300 | 300 | 350 | 400 | 300 | 
 | 
 | 
 | 
 | 
 | 
 | 
| 108 | DL | 
 | 
 | 
 | 
 | 
 | 
 | 40 | 40 | 90 | 90 | 290 | 290 | 340 | 390 | 300 | 250 | 
 | 
 | 
 | 
 | 
 | 
| 133 | DL | 
 | 
 | 
 | 
 | 
 | 
 | 
 | 28 | 78 | 78 | 278 | 278 | 328 | 378 | 300 | 250 | 200 | 
 | 
 | 
 | 
 | 
| 159 | DL | 
 | 
 | 
 | 
 | 
 | 
 | 
 | 
 | 65 | 65 | 265 | 265 | 315 | 365 | 300 | 250 | 200 | 200 | 
 | 
 | 
 | 
| 219 | DL | 
 | 
 | 
 | 
 | 
 | 
 | 
 | 
 | 
 | 33 | 233 | 233 | 283 | 333 | 300 | 250 | 200 | 200 | 200 | 
 | 
 | 
| 273 | DL | 
 | 
 | 
 | 
 | 
 | 
 | 
 | 
 | 
 | 
 | 140 | 140 | 190 | 240 | 240 | 240 | 200 | 200 | 200 | 200 | 
 | 
| 325 | DL | 
 | 
 | 
 | 
 | 
 | 
 | 
 | 
 | 
 | 
 | 
 | 115 | 165 | 215 | 215 | 215 | 200 | 200 | 200 | 200 | 245 | 
| 426 | DL | 
 | 
 | 
 | 
 | 
 | 
 | 
 | 
 | 
 | 
 | 
 | 
 | 110 | 160 | 160 | 160 | 160 | 200 | 200 | 200 | 245 | 
| 530 | DL | 
 | 
 | 
 | 
 | 
 | 
 | 
 | 
 | 
 | 
 | 
 | 
 | 
 | 85 | 85 | 85 | 85 | 135 | 135 | 200 | 245 | 
| 630 | DL | 
 | 
 | 
 | 
 | 
 | 
 | 
 | 
 | 
 | 
 | 
 | 
 | 
 | 
 | 40 | 40 | 40 | 90 | 90 | 200 | 245 | 
| 720 | DL | 
 | 
 | 
 | 
 | 
 | 
 | 
 | 
 | 
 | 
 | 
 | 
 | 
 | 
 | 
 | 0 | 0 | 40 | 40 | 200 | 245 | 
| 820 | DL | 
 | 
 | 
 | 
 | 
 | 
 | 
 | 
 | 
 | 
 | 
 | 
 | 
 | 
 | 
 | 
 | 0 | 0 | 0 | 200 | 245 | 
| 920 | DL | 
 | 
 | 
 | 
 | 
 | 
 | 
 | 
 | 
 | 
 | 
 | 
 | 
 | 
 | 
 | 
 | 
 | 0 | 0 | 160 | 245 | 
| 1020 | DL | 
 | 
 | 
 | 
 | 
 | 
 | 
 | 
 | 
 | 
 | 
 | 
 | 
 | 
 | 
 | 
 | 
 | 
 | 0 | 110 | 245 | 
| 1220 | DL | 
 | 
 | 
 | 
 | 
 | 
 | 
 | 
 | 
 | 
 | 
 | 
 | 
 | 
 | 
 | 
 | 
 | 
 | 
 | 0 | 160 | 
| 1420 | DL | 
 | 
 | 
 | 
 | 
 | 
 | 
 | 
 | 
 | 
 | 
 | 
 | 
 | 
 | 
 | 
 | 
 | 
 | 
 | 
 | 0 | 
Данные фасонные элементы изготавливаются с защитным слоем из полиэтилена либо оцинкованной стали. Тройник в изоляции ППУ бывает различных диаметров, которые варьируются от 32 до 1420 мм. Диаметр, ГОСТ, марка стали и толщина стенки стальной трубы; толщина изоляции и тип защитной оболочки тройника в ППУ изоляции должны соответствовать аналогичным параметрам прямых участков трубопровода. Обязательным элементом тройника в ППУ изоляции должны быть проводники системы ОДК.

 
				




