Тройник ППУ: вес
Определение
Тройник в ППУ изоляции – фасонное изделие тепловой сети по ГОСТ 30732-2006, предназначенное для разделения или слияния потоков вещества, идущего по трубопроводу.
Виды тройников
- Равнопроходные;
- Неравнопроходные.
Конструкция
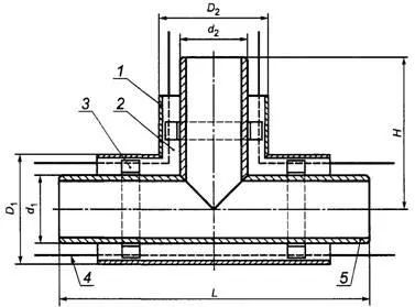
Конструкция тройника должна соответствовать пункту В.3 ГОСТ 30732-2006:
1 — оболочка; 2 — изоляция из пенополиуретана; 3 — центрирующая опора;
4 — проводник—индикатор системы ОДК; 5 — стальная труба
Данные фасонные изделия являются габаритными, соответственно довольно тяжелыми.
Вес ППУ тройников
Вес тройников рассчитывается как сумма следующих составляющих:
- Вес трубы, по которому транспортируется основной поток. Длина трубы “L” соответствует пункту В.3 ГОСТ 30732-2006 таблица В.3;
- Вес трубы-ответвления, по которому транспортируется второстепенный поток. Длина ответвления “H” соответствует пункту В.3 ГОСТ 30732-2006 таблица В.3.
Вес основных типоразмеров труб в ППУ изоляции приведен ниже:
|
Диаметр стальной трубы в мм. |
Толщина стенки стальной трубы в мм. |
Диаметр оболочки в мм. |
Вес в кг.за м.п. |
|
|
Полиэтиленовая оболочка |
Оцинкованная оболочка |
|||
|
57 |
3,5 |
125 |
6,31 |
7,16 |
|
57 |
3,5 |
140 |
6,89 |
7,62 |
|
76 |
3,5 |
140 |
8,38 |
9,11 |
|
76 |
3,5 |
160 |
8,91 |
9,76 |
|
89 |
3,5 |
160 |
9,91 |
10,75 |
|
89 |
3,5 |
180 |
10,50 |
11,45 |
|
108 |
3,5 |
180 |
11,92 |
12,86 |
|
108 |
3,5 |
200 |
12,68 |
13,61 |
|
133 |
4,0 |
200 |
16,03 |
16,96 |
|
133 |
4,0 |
225 |
17,11 |
17,96 |
|
133 |
4,0 |
250 |
18,40 |
20,48 |
|
159 |
4,5 |
250 |
22,36 |
24,44 |
|
159 |
4,5 |
280 |
23,99 |
25,74 |
|
219 |
6,0 |
315 |
39,31 |
40,99 |
|
219 |
6,0 |
355 |
42,02 |
43,40 |
|
273 |
6,0 |
400 |
51,44 |
52,77 |
|
273 |
6,0 |
450 |
54,84 |
56,34 |
|
325 |
7,0 |
400 |
64,95 |
66,28 |
|
325 |
7,0 |
450 |
68,35 |
69,85 |
|
325 |
7,0 |
500 |
72,99 |
73,72 |
|
426 |
7,0 |
500 |
85,83 |
86,56 |
|
426 |
7,0 |
560 |
92,18 |
96,46 |
|
426 |
7,0 |
630 |
100,26 |
103,52 |
Данные фасонные изделия производятся в полиэтиленовой или стальной (оцинкованной) защитной оболочке. Наружные диаметры тройника в ППУ изоляции должны быть от 32 до 1420 мм. Диаметр, ГОСТ, марка стали и толщина стенки стальной трубы; толщина изоляции и тип защитной оболочки тройника в ППУ изоляции должны соответствовать аналогичным параметрам прямых участков трубопровода. Тройники в ППУ изоляции должны быть оснащены проводниками системы ОДК.





