Переход в ППУ изоляции
Определение
Переход в ППУ изоляции – фасонное изделие для тепловой сети по ГОСТ 30732-2006, предназначенное для соединения труб или фасонных изделий в ППУ изоляции с различными диаметрами. Переходы в ППУ изоляции не могут быть между любыми диаметрами. Диаметры, между которыми возможен переход, регламентируются ГОСТ 30732-2006.
Виды переходов
- Концентрические;
- Эксцентрические.
Концентрический переход из стали выглядит, как конус усеченного типа и используется, чтобы объединить трубы по вертикальной оси.
Эксцентрический переход из стали позволяет организовать соединение труб в горизонтальном направлении, по нижней образующей линии.
В соответствии с ГОСТ 30732-2006 предусмотрено использование переходов концентрического типа, но по согласованию с заказчиком могут применяться и эксцентрические переходы в ППУ изоляции.
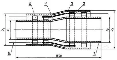
Конструкция концентрического перехода в ППУ изоляции
Конструкция концентрического перехода в ППУ изоляции должна соответствовать с пунктом В.2 ГОСТ 30732-2006:

1 — стальная труба; 2 — электроизоляционная трубка (для труб со стальной оболочкой); 3 — оболочка;4 — изоляция из ППУ; 5 — центрирующая опора; 6 — проводник—индикатор системы ОДК (показан условно)
Производство переходов в ППУ изоляции осуществляется в защитной оболочке из полиэтилена либо оцинкованной стали. Параметры наружного диаметра перехода должны варьироваться от 32 до 1420 мм. Размеры переходов в ППУ изоляции должны соответствовать таблице В.2 ГОСТ 30732-2006
В миллиметрах
|
d2 |
d1 | |||||||||||||||||||
|
32 |
38 |
45 |
57 |
76 |
89 |
108 |
133 |
159 |
219 |
273 |
325 |
426 |
530 |
630 |
720 |
820 |
920 |
1020 |
1220 | |
|
45 |
X |
|
|
|
|
|
|
|
|
|
|
|
|
|
|
|
|
|
|
|
|
57 |
|
X |
X |
|
|
|
|
|
|
|
|
|
|
|
|
|
|
|
|
|
|
76 |
|
X |
X |
X |
|
|
|
|
|
|
|
|
|
|
|
|
|
|
|
|
|
89 |
|
|
X |
X |
X |
|
|
|
|
|
|
|
|
|
|
|
|
|
|
|
|
108 |
|
|
|
X |
X |
X |
|
|
|
|
|
|
|
|
|
|
|
|
|
|
|
133 |
|
|
|
X |
X |
X |
X |
|
|
|
|
|
|
|
|
|
|
|
|
|
|
159 |
|
|
|
X |
X |
Х |
X |
X |
|
|
|
|
|
|
|
|
|
|
|
|
|
219 |
|
|
|
X |
X |
X |
Х |
X |
X |
|
|
|
|
|
|
|
|
|
|
|
|
273 |
|
|
|
|
|
|
X |
X |
X |
X |
|
|
|
|
|
|
|
|
|
|
|
325 |
|
|
|
|
|
|
X |
X |
X |
X |
X |
|
|
|
|
|
|
|
|
|
|
426 |
|
|
|
|
|
|
|
|
X |
X |
X |
X |
|
|
|
|
|
|
|
|
|
530 |
|
|
|
|
|
|
|
|
|
|
X |
Х |
X |
|
|
|
|
|
|
|
|
630 |
|
|
|
|
|
|
|
|
|
|
|
X |
X |
X |
|
|
|
|
|
|
|
720 |
|
|
|
|
|
|
|
|
|
|
|
|
X |
X |
Х |
|
|
|
|
|
|
820 |
|
|
|
|
|
|
|
|
|
|
|
|
X |
X |
X |
X |
|
|
|
|
|
920 |
|
|
|
|
|
|
|
|
|
|
|
|
|
X |
X |
X |
X |
|
|
|
|
1020 |
|
|
|
|
|
|
|
|
|
|
|
|
|
X |
X |
X |
X |
X |
|
|
|
1220 |
|
|
|
|
|
|
|
|
|
|
|
|
|
|
2390 |
2165 |
1945 |
1720 |
X |
|
|
1420 |
|
|
|
|
|
|
|
|
|
|
|
|
|
|
|
2550 |
2400 |
2186 |
1900 |
X |
|
Примечание — Знак «X» — длина изделия равна 1500 мм. | ||||||||||||||||||||
Диаметр, ГОСТ, марка стали, толщина стенки стальных труб; толщина изоляции и тип защитной оболочки перехода в ППУ изоляции должны соответствовать аналогичным параметрам прямых участков трубопровода. Обязательным элементом переходов в ППУ изоляции является наличие проводников системы ОДК.









