Параллельный тройник в ППУ изоляции
- Определение
- Конструкция параллельного тройника в ППУ изоляции
- Размеры параллельного тройника в ППУ изоляции приведены в следующей таблице:
Определение
Параллельный тройник в ППУ изоляции – фасонный элемент, который изготавливается на основании ГОСТ 30732-2006 и используется для разделения или слияния потоков вещества, идущего по трубопроводу. Отличительной особенностью данного тройника является параллельное расположение ответвления по отношению к основному потоку. Тройники подразделяются на равнопроходные и неравнопроходные.
Конструкция параллельного тройника в ППУ изоляции
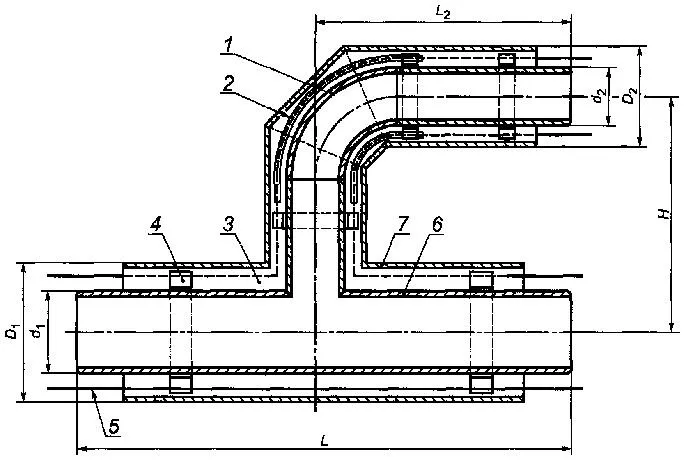
Конструкция параллельного тройника в ППУ изоляции должна соответствовать пункту В.5 ГОСТ 30732-2006:

1 — стальной отвод; 2 — электроизоляционная трубка (для труб со стальной оболочкой); 3 — изоляция из ППУ; 4 — центрирующая опора; 5 — проводник—индикатор системы ОДК; 6 — стальная труба; 7 — оболочка
Размеры параллельного тройника в ППУ изоляции приведены в следующей таблице:
В миллиметрах
|
d2 |
d1 |
32 |
38 |
45 |
57 |
76 |
89 |
108 |
133 |
159 |
219 |
273 |
325 |
426 |
530 |
630 |
720 |
820 |
920 |
1020 |
1220 |
1420 |
|
L |
1200 |
1200 |
1200 |
1200 |
1300 |
1300 |
1300 |
1300 |
1400 |
1400 |
1800 |
1800 |
1900 |
2000 |
2000 |
2000 |
2000 |
2100 |
2100 |
2400 |
2700 |
|
|
32 |
L2 |
700 |
700 |
700 |
700 |
700 |
700 |
700 |
700 |
700 |
700 |
700 |
700 |
700 |
|
|
|
|
|
|
|
|
|
H |
275 |
275 |
275 |
283 |
293 |
303 |
313 |
325 |
338 |
370 |
413 |
438 |
493 |
|
|
|
|
|
|
|
|
|
|
38 |
L2 |
|
700 |
700 |
700 |
700 |
700 |
700 |
700 |
700 |
700 |
700 |
700 |
700 |
|
|
|
|
|
|
|
|
|
H |
|
275 |
275 |
283 |
293 |
303 |
313 |
325 |
338 |
370 |
413 |
438 |
493 |
|
|
|
|
|
|
|
|
|
|
45 |
L2 |
|
|
700 |
700 |
700 |
700 |
700 |
700 |
700 |
700 |
700 |
700 |
700 |
|
|
|
|
|
|
|
|
|
H |
|
|
275 |
283 |
293 |
303 |
313 |
325 |
338 |
370 |
413 |
438 |
493 |
|
|
|
|
|
|
|
|
|
|
57 |
L2 |
|
|
|
700 |
700 |
700 |
700 |
700 |
700 |
700 |
700 |
700 |
700 |
|
|
|
|
|
|
|
|
|
H |
|
|
|
290 |
300 |
310 |
320 |
333 |
345 |
378 |
420 |
445 |
500 |
|
|
|
|
|
|
|
|
|
|
76 |
L2 |
|
|
|
|
700 |
700 |
700 |
700 |
700 |
700 |
700 |
700 |
700 |
700 |
|
|
|
|
|
|
|
|
H |
|
|
|
|
310 |
320 |
330 |
343 |
355 |
388 |
430 |
455 |
510 |
585 |
|
|
|
|
|
|
|
|
|
89 |
L2 |
|
|
|
|
|
700 |
700 |
700 |
700 |
700 |
700 |
700 |
700 |
700 |
700 |
|
|
|
|
|
|
|
H |
|
|
|
|
|
330 |
340 |
353 |
365 |
398 |
440 |
465 |
520 |
595 |
640 |
|
|
|
|
|
|
|
|
108 |
L2 |
|
|
|
|
|
|
700 |
700 |
700 |
700 |
700 |
700 |
700 |
700 |
700 |
700 |
|
|
|
|
|
|
H |
|
|
|
|
|
|
350 |
363 |
375 |
408 |
450 |
475 |
530 |
605 |
650 |
700 |
|
|
|
|
|
|
|
133 |
L2 |
|
|
|
|
|
|
|
800 |
800 |
800 |
800 |
800 |
800 |
800 |
800 |
800 |
800 |
|
|
|
|
|
H |
|
|
|
|
|
|
|
375 |
388 |
420 |
463 |
488 |
543 |
618 |
663 |
713 |
763 |
|
|
|
|
|
|
159 |
L2 |
|
|
|
|
|
|
|
|
800 |
800 |
800 |
800 |
800 |
800 |
800 |
800 |
800 |
800 |
|
|
|
|
H |
|
|
|
|
|
|
|
|
405 |
435 |
475 |
500 |
555 |
630 |
675 |
725 |
775 |
825 |
|
|
|
|
|
219 |
L2 |
|
|
|
|
|
|
|
|
|
800 |
800 |
800 |
800 |
800 |
800 |
800 |
800 |
800 |
800 |
|
|
|
H |
|
|
|
|
|
|
|
|
|
565 |
608 |
633 |
688 |
763 |
808 |
858 |
908 |
958 |
1008 |
|
|
|
|
273 |
L2 |
|
|
|
|
|
|
|
|
|
|
1000 |
1000 |
1000 |
1000 |
1000 |
1000 |
1000 |
1000 |
1000 |
1000 |
|
|
H |
|
|
|
|
|
|
|
|
|
|
650 |
675 |
730 |
805 |
850 |
900 |
950 |
1000 |
1050 |
1150 |
|
|
|
325 |
L2 |
|
|
|
|
|
|
|
|
|
|
|
1100 |
1100 |
1100 |
1100 |
1100 |
1100 |
1100 |
1100 |
1100 |
1100 |
|
H |
|
|
|
|
|
|
|
|
|
|
|
713 |
763 |
830 |
875 |
925 |
975 |
1025 |
1075 |
1175 |
1275 |
|
|
426 |
L2 |
|
|
|
|
|
|
|
|
|
|
|
|
1200 |
1200 |
1200 |
1200 |
1200 |
1200 |
1200 |
1200 |
1200 |
|
H |
|
|
|
|
|
|
|
|
|
|
|
|
913 |
985 |
1030 |
1080 |
1130 |
1180 |
1230 |
1330 |
1430 |
|
|
530 |
L2 |
|
|
|
|
|
|
|
|
|
|
|
|
|
1200 |
1200 |
1200 |
1200 |
1200 |
1200 |
1200 |
1200 |
|
H |
|
|
|
|
|
|
|
|
|
|
|
|
|
1160 |
1205 |
1255 |
1305 |
1355 |
1405 |
1505 |
1605 |
|
|
630 |
L2 |
|
|
|
|
|
|
|
|
|
|
|
|
|
|
1200 |
1200 |
1200 |
1200 |
1200 |
1200 |
1200 |
|
H |
|
|
|
|
|
|
|
|
|
|
|
|
|
|
1250 |
1300 |
1350 |
1400 |
1450 |
1550 |
1650 |
|
|
720 |
L2 |
|
|
|
|
|
|
|
|
|
|
|
|
|
|
|
1200 |
1200 |
1200 |
1200 |
1200 |
1200 |
|
H |
|
|
|
|
|
|
|
|
|
|
|
|
|
|
|
1500 |
1550 |
1600 |
1650 |
1850 |
1950 |
|
|
820 |
L2 |
|
|
|
|
|
|
|
|
|
|
|
|
|
|
|
|
1200 |
1200 |
1200 |
1200 |
1200 |
|
H |
|
|
|
|
|
|
|
|
|
|
|
|
|
|
|
|
1800 |
1850 |
1900 |
2000 |
2100 |
|
|
920 |
L2 |
|
|
|
|
|
|
|
|
|
|
|
|
|
|
|
|
|
1300 |
1300 |
1300 |
1300 |
|
H |
|
|
|
|
|
|
|
|
|
|
|
|
|
|
|
|
|
2000 |
2050 |
2150 |
2250 |
|
|
1020 |
L2 |
|
|
|
|
|
|
|
|
|
|
|
|
|
|
|
|
|
|
1300 |
1300 |
1300 |
|
H |
|
|
|
|
|
|
|
|
|
|
|
|
|
|
|
|
|
|
2200 |
2300 |
2400 |
|
|
1220 |
L2 |
|
|
|
|
|
|
|
|
|
|
|
|
|
|
|
|
|
|
|
1500 |
1500 |
|
H |
|
|
|
|
|
|
|
|
|
|
|
|
|
|
|
|
|
|
|
2500 |
2600 |
|
|
1420 |
L2 |
|
|
|
|
|
|
|
|
|
|
|
|
|
|
|
|
|
|
|
|
1700 |
|
H |
|
|
|
|
|
|
|
|
|
|
|
|
|
|
|
|
|
|
|
|
2800 |
Возможно удлинение L трубопровода с каждой стороны на величину L при монтаже на строительной площадке . Значения L приведены в следующей таблице:
В миллиметрах
|
d2 |
d1 |
32 |
38 |
45 |
57 |
76 |
89 |
108 |
133 |
159 |
219 |
273 |
325 |
426 |
530 |
630 |
720 |
820 |
920 |
1020 |
1220 |
1420 |
|
ߡL |
1200 |
1200 |
1200 |
1200 |
1300 |
1300 |
1300 |
1300 |
1400 |
1400 |
1800 |
1800 |
1900 |
2000 |
2000 |
2000 |
2000 |
2100 |
2100 |
2400 |
2700 |
|
|
32 |
ߡL |
20 |
20 |
20 |
20 |
70 |
70 |
70 |
70 |
120 |
120 |
320 |
320 |
370 |
|
|
|
|
|
|
|
|
|
38 |
ߡL |
|
20 |
20 |
20 |
70 |
70 |
70 |
70 |
120 |
120 |
320 |
320 |
370 |
|
|
|
|
|
|
|
|
|
45 |
ߡL |
|
|
20 |
20 |
70 |
70 |
70 |
70 |
120 |
120 |
320 |
320 |
370 |
|
|
|
|
|
|
|
|
|
57 |
ߡL |
|
|
|
20 |
70 |
70 |
70 |
70 |
120 |
120 |
320 |
320 |
370 |
|
|
|
|
|
|
|
|
|
76 |
ߡL |
|
|
|
|
60 |
60 |
60 |
60 |
110 |
110 |
310 |
310 |
360 |
400 |
|
|
|
|
|
|
|
|
89 |
ߡL |
|
|
|
|
|
50 |
50 |
50 |
100 |
100 |
300 |
300 |
350 |
400 |
300 |
|
|
|
|
|
|
|
108 |
ߡL |
|
|
|
|
|
|
40 |
40 |
90 |
90 |
290 |
290 |
340 |
390 |
300 |
250 |
|
|
|
|
|
|
133 |
ߡL |
|
|
|
|
|
|
|
28 |
78 |
78 |
278 |
278 |
328 |
378 |
300 |
250 |
200 |
|
|
|
|
|
159 |
ߡL |
|
|
|
|
|
|
|
|
65 |
65 |
265 |
265 |
315 |
365 |
300 |
250 |
200 |
200 |
|
|
|
|
219 |
ߡL |
|
|
|
|
|
|
|
|
|
33 |
233 |
233 |
283 |
333 |
300 |
250 |
200 |
200 |
200 |
|
|
|
273 |
ߡL |
|
|
|
|
|
|
|
|
|
|
140 |
140 |
190 |
240 |
240 |
240 |
200 |
200 |
200 |
200 |
|
|
325 |
ߡL |
|
|
|
|
|
|
|
|
|
|
|
115 |
165 |
215 |
215 |
215 |
200 |
200 |
200 |
200 |
245 |
|
426 |
ߡL |
|
|
|
|
|
|
|
|
|
|
|
|
110 |
160 |
160 |
160 |
160 |
200 |
200 |
200 |
245 |
|
530 |
ߡL |
|
|
|
|
|
|
|
|
|
|
|
|
|
85 |
85 |
85 |
85 |
135 |
135 |
200 |
245 |
|
630 |
ߡL |
|
|
|
|
|
|
|
|
|
|
|
|
|
|
40 |
40 |
40 |
90 |
90 |
200 |
245 |
|
720 |
ߡL |
|
|
|
|
|
|
|
|
|
|
|
|
|
|
|
0 |
0 |
40 |
40 |
200 |
245 |
|
820 |
ߡL |
|
|
|
|
|
|
|
|
|
|
|
|
|
|
|
|
0 |
0 |
0 |
200 |
245 |
|
920 |
ߡL |
|
|
|
|
|
|
|
|
|
|
|
|
|
|
|
|
|
0 |
0 |
160 |
245 |
|
1020 |
L |
|
|
|
|
|
|
|
|
|
|
|
|
|
|
|
|
|
|
0 |
110 |
245 |
|
1220 |
ߡL |
|
|
|
|
|
|
|
|
|
|
|
|
|
|
|
|
|
|
|
0 |
160 |
|
1420 |
ߡL |
|
|
|
|
|
|
|
|
|
|
|
|
|
|
|
|
|
|
|
|
0 |
Изделия данного типа изготавливаются в стальной (оцинкованной) или полиэтиленовой оболочки. Наружные диаметры параллельного тройника варьируются между значениями 32 - 1420 мм. Диаметр, ГОСТ, толщина изолирующего слоя, а также вид защитной оболочки, толщина стенки трубы из стали и марка стали должны соответствовать аналогичным параметрам прямых участков трубопровода. Обязательным элементом параллельных тройников в ППУ изоляции является наличие проводников системы ОДК.








