Отвод в ППУ изоляции
- Определение
- Конструкция отвода в ППУ изоляции
- Размеры отводов приведены в следующей таблице
- Требования к крутоизогнутому отводу
Определение
Отвод в ППУ изоляции – фасонное изделие для тепловой сети, которое изготавливается на базе ГОСТ 30732-2006, используемое для изменения направления трубопровода тепловой сети.
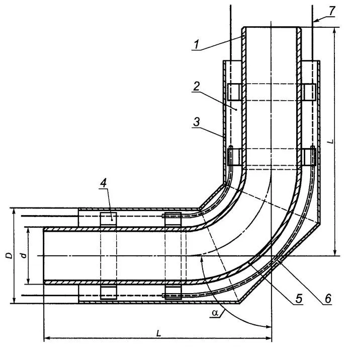
Конструкция отвода в ППУ изоляции
Основу отвода в ППУ изоляции составляет отвод крутоизогнутого типа, изготовленного в соответствии с ГОСТ 17375-2001, который содержит наваренные стальные патрубки. Если диаметр изделия превышает 630 мм, допустимо применение сварных отводов. Изоляция конструкции производится согласно методике «Труба в трубе» и предусматривает использование пенополиуретана с защитной оцинкованной или полиэтиленовой оболочкой. Обязательным элементом отвода в ППУ изоляции является наличие проводников системы ОДК. Параметры ГОСТа, марка стали, а также диаметр стальной трубы, толщина изоляционного слоя, толщина стенки трубы и используемый тип защитной оболочки должны соответствовать аналогичным параметрам участков трубопровода прямого типа.
Конструкция отвода в ППУ изоляции должна соответствовать ГОСТ 30732-2006 пункту В.1

Примечание:
1 — стальная труба; 2 — изоляция из ППУ; 3 — оболочка; 4 — центрирующая опора; 5 — стальной отвод; 6 — электроизоляционная трубка (для труб со стальной оболочкой); 7 — проводник-индикатор системы ОДК (показан условно)
Размеры отводов приведены в следующей таблице
В миллиметрах
|
Наружный диаметр стального отвода d |
Наружный диаметр изоляции |
Угол α** | |||||
|
по полиэтиленовой оболочке D |
по металлической оболочке D |
90° |
60° |
45° |
30° | ||
|
Тип 1 |
Тип 2 |
Тип 1 |
L | ||||
|
32 |
125 |
|
125 |
1000 |
1000 |
1000 |
1000 |
|
38 |
125 |
— |
125 | ||||
|
45 |
125 |
— |
125 | ||||
|
57 |
125 |
140 |
140 | ||||
|
76 |
140 |
160 |
160 | ||||
|
89 |
160 |
180 |
180 | ||||
|
108 |
180 |
200 |
200 | ||||
|
133 |
225 |
250 |
225 | ||||
|
159 |
250 |
280 |
250 | ||||
|
219 |
315 |
355 |
315 | ||||
|
273 |
400 |
450 |
400 | ||||
|
325 |
450 |
500 |
450 |
1050 |
860 |
786 |
720 |
|
426 |
560 |
630 |
560 |
1100 |
889 |
807 |
734 |
|
530 |
710 |
— |
675 |
1200 |
946 |
848 |
761 |
|
630 |
800 |
— |
775 |
1200 |
945 |
848 |
761 |
|
1280* |
1014* |
911* |
819* | ||||
|
720*** |
900 |
— |
875 |
1370* |
1066* |
948* |
843* |
|
820*** |
1000 |
1100 |
975 |
1470* |
1073* |
990* |
820* |
|
920 |
1100 |
1200 |
1075 |
1570* |
1132* |
1032* |
846* |
|
1020 |
1200 |
— |
1175 |
1620* |
1189* |
1022* |
874* |
|
1220 |
1425 |
— |
1375 |
1820* |
1304* |
1105* |
927* |
|
1420 |
1600 |
— |
1575 |
2020* |
1420* |
1188* |
980* |
|
* Сварные отводы. ** Допускается изготовление отводов с другими углами. *** Допускается изготовление крутоизогнутых отводов по ГОСТ 17375. | |||||||
Как показывается практика, отводы с длиной, соответствующей ГОСТ 30732-2006, не удобны для производства и монтажа. Поэтому завод-изготовитель, по согласованию с клиентом, может выпускать отводы с патрубками укороченного типа. При этом длина патрубков закрепляется в ТУ производителя. Помимо этого, углы отводов также могут быть различных размеров и устанавливаться по согласованию с заказчиком. Толщина изоляции отводов, которые используются для защитных оболочек из стали оцинкованной, является справочной и может изменяться в соответствии с расчетами СНиП 41-03-2003 и СП 41-103-2000.
Требования к крутоизогнутому отводу
Отвод крутоизогнутый (КЗ) в соответствии с ГОСТ 17375-2001 в 3D варианте должен изготавливаться во 2 исполнении. Отводы данного типа производятся из низколегированной либо углеродистой стали и исключают наличие швов. Методика изготовления может включать штамповку либо протяжку по сердечнику рогообразного типа. Изготовление отводов из спирально-шовных труб не допускается. Требования к отводам регламентируются ГОСТ 17375-2001 и ПБ 10-573-03.

