Опоры серия 5.903-13 выпуск 7-95
Описание
Опоры, произведенные по серии 5.903-13 выпуск 7-95, являются неподвижными и предназначены для фиксации трубопровода в стационарном положении относительно угловых, вертикальных (поперечных) и горизонтальных (продольных) перемещений. В 1997 году данная серия пришла на замену устаревшей серии 4.903-10 выпуск 4.
Назначение
Настоящий стандарт распространяется на стальные неподвижные опоры тепловых сетей условных диаметров от 25 до 1400 мм, транспортирующих рабочую среду под давлением до 40 МПа и температурой не более 425 градусов Цельсия.
Преимущество изделий
Опоры под трубопроводы имеют ряд преимуществ:
- Трубопроводные опоры имеют антикоррозийное покрытие .
- Имеют конструкцию которая позволяет осуществить быстрый монтаж.
- Большой срок использования.
- Монтаж происходит в любое врем года.
- При соблюдении условий монтажа опоры технологических трубопроводов можно использовать повторно.
Конструкция
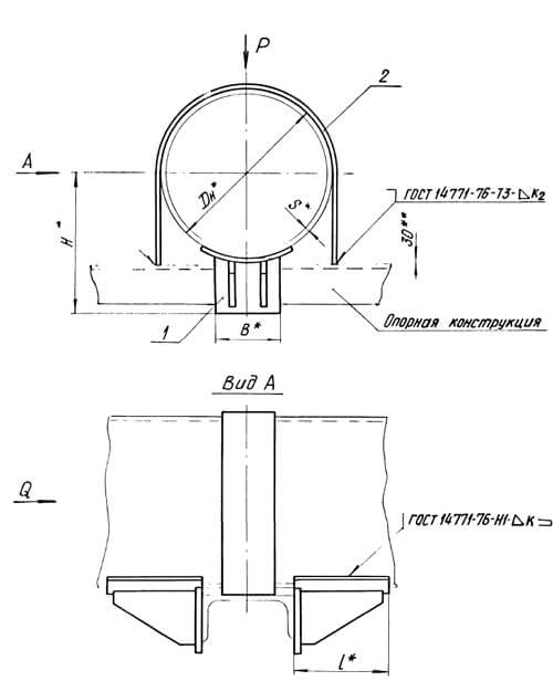
Конструкции неподвижных опор, произведенных на основании серии 5.903-13 , приведены в следующих чертежах. Все обозначения и величины соответствуют обозначениям и величинам в данной серии.

Рисунок 1. Чертеж опоры неподвижной хомутовой ТС 659.00

Рисунок 2. Чертеж опоры неподвижной двухупорной ТС 660.00

Рисунок 3. Чертеж опоры неподвижной четырехупорной ТС 661.00

Рисунок 4. Чертеж опоры неподвижной двухупорной усиленной ТС 662.00

Рисунок 5. Чертеж опоры неподвижной двухупорной усиленной ТС 663.00

Рисунок 6. Чертеж опоры неподвижной четурехупорной усиленной ТС 664.00

Рисунок 7. Чертеж опоры неподвижной двухупорной сальниковых компенсаторов ТС 665.00

Рисунок 8. Чертеж опоры неподвижной щитовой ТС 666.00


Рисунок 9. Чертеж опоры неподвижной щитовой усиленной ТС 667.00

Рисунок 10. Чертеж опоры неподвижной боковой ТС 668.00.00-ТС 668.00.12

Рисунок 11. Чертеж опоры неподвижной боковой ТС 668.00.13- ТС668.00.22

Рисунок 12. Чертеж опоры неподвижной хомутовой ТС 669.00.00 – ТС 669.00.13

Рисунок 13. Чертеж опоры неподвижной хомутовой ТС 669.00.14 – ТС 669.00.27

Рисунок 14. Чертеж опоры неподвижной хомутовой с корпусом ТС 670.00

Рисунок 15. Чертеж опоры неподвижной бугельной с корпусом ТС 671.00
Разновидность
Разновидность неподвижных опор, произведенных на основании серии 5.903-13:
- Опора неподвижная хомутовая ТС659.00
- Опора неподвижная двухупорная ТС 660.00
- Опора неподвижная четырехупорная ТС 661.00
- Опора неподвижная двухупорная усиленная ТС 662.00
- Опора неподвижная двухупорная усиленная ТС 663.00
- Опора неподвижная четурехупорная усиленная ТС 664.00
- Опора неподвижная двухупорная сальниковых компенсаторов ТС 665.00
- Опора неподвижная щитовая ТС 666.00
- Опора неподвижная щитовая усиленная ТС 667.00
- Опора неподвижная боковая ТС 668.00
- Опора неподвижная хомутовая ТС 669.00
- Опора неподвижная хомутовая с корпусом ТС 670.00
- Опора неподвижная бугельная с корпусом ТС 671.00
Опоры могут производиться с дополнительной защитой от электрокоррозии или без таковой. Данная защита описывается в разделе Т-659 Д настоящего стандарта.
Ниже приведены схематичные рисунки данных опор.

Рисунок 16. Опора ТС 659.00

Рисунок 17. Опора ТС 660.00

Рисунок 18. Опора ТС 661.00

Рисунок 19. Опора ТС 662.00

Рисунок 20. Опора ТС 663.00

Рисунок 21. Опора ТС 664.00

Рисунок 22. Опора ТС 665.00

Рисунок 23. Опора ТС 666.00

Рисунок 24. Опора ТС 667.00

Рисунок 25. Опора ТС 668.00

Рисунок 26. Опора ТС 669.00

Рисунок 27. Опора ТС 670.00

Рисунок 28. Опора ТС 671.00
Размеры
Размеры неподвижных опор, произведенных на основании серии 5.903-13, приведены в нижеперечисленных таблицах. Все размеры в миллиметрах. Обозначения размеров опор соответствуют чертежам, указанных в разделе конструкция настоящей статьи или в соответствующей серии.
| Обозначение | Dн трубопровода | k=S | l | S1 | b | S2 |
| ТС-659.00.00 | 32 | 2,0 | 75 | 3 | 25 | 6 |
| ТС-659.00.01 | 38 | 2,0 | 75 | 3 | 25 | 6 |
| ТС-659.00.02 | 45 | 2,5 | 75 | 3 | 25 | 6 |
| ТС-659.00.03 | 57 | 3,0 | 75 | 3 | 25 | 6 |
| ТС-659.00.04 | 76 | 3,0 | 75 | 3 | 25 | 8 |
| ТС-659.00.05 | 89 | 3,0 | 75 | 3 | 25 | 8 |
| ТС-659.00.06 | 108 | 3,5 | 75 | 3 | 40 | 10 |
| ТС-659.00.07 | 133 | 4,0 | 100 | 3 | 40 | 10 |
| ТС-659.00.08 | 159 | 5,0 | 100 | 3 | 40 | 10 |
| ТС-659.00.09 | 219 | 6,0 | 100 | 3 | 40 | 10 |
Таблица 1. Размеры опор ТС 659.00
| Обозначение | Dн трубопровода | k=S | H | B | l | m |
| ТС-660.00.00 | 32 | 1,8 | 110 | 20 | 104 | 20 |
| ТС-660.00.01 | 38 | 2 | 140 | 20 | 104 | 20 |
| ТС-660.00.02 | 45 | 2 | 150 | 30 | 104 | 20 |
| ТС-660.00.03 | 57 | 3 | 180 | 40 | 106 | 20 |
| ТС-660.00.04 | 76 | 3 | 210 | 50 | 106 | 20 |
| ТС-660.00.05 | 89 | 3 | 230 | 60 | 110 | 20 |
| ТС-660.00.06 | 108 | 3,5 | 230 | 70 | 110 | 30 |
| 4 | 80 | |||||
| ТС-660.00.07 | 133 | 4 | 260 | 120 | 110 | 30 |
| ТС-660.00.08 | 159 | 4 | 320 | 120 | 112 | 30 |
| ТС-660.00.09 | 219 | 4 | 420 | 120 | 132 | 30 |
| 8 | ||||||
| ТС-660.00.10 | 273 | 6 | 480 | 120 | 132 | 150 |
| 8 | ||||||
| ТС-660.00.11 | 325 | 6 | 530 | 120 | 162 | 150 |
| 8 | ||||||
| ТС-660.00.12 | 377 | 6 | 580 | 140 | 162 | 150 |
| 9 | ||||||
| ТС-660.00.13 | 426 | 7 | 660 | 160 | 196 | 150 |
| 10 | ||||||
| ТС-660.00.14 | 530 | 8 | 770 | 200 | 226 | 150 |
| 11 | ||||||
| ТС-660.00.15 | 630 | 8 | 870 | 240 | 226 | 150 |
| 12 | ||||||
| ТС-660.00.16 | 720 | 9 | 960 | 280 | 266 | 150 |
| 11 | ||||||
| ТС-660.00.17 | 820 | 10 | 1060 | 300 | 266 | 150 |
| 12 | ||||||
| ТС-660.00.18 | 920 | 10 | 1160 | 320 | 266 | 150 |
| ТС-660.00.19 | 1020 | 10 | 1260 | 360 | 286 | 150 |
| ТС-660.00.20 | 1220 | 11 | 1460 | 400 | 336 | 150 |
| ТС-660.00.21 | 1420 | 14 | 1680 | 500 | 336 | 150 |
Таблица 2. Размеры опор ТС 660.00
| Обозначение | Dн трубопровода | k=S | H | B | l | m |
| ТС-661.00.00 | 133 | 4; 5 | 260 | 80 | 110 | 30 |
| ТС-661.00.01 | 159 | 4; 5 | 320 | 90 | 112 | 30 |
| ТС-661.00.02 | 219 | 4; 7 | 420 | 120 | 132 | 30 |
| ТС-661.00.03 | 273 | 6; 8 | 480 | 120 | 132 | 80 |
| ТС-661.00.04 | 325 | 6; 8 | 530 | 120 | 162 | 80 |
| ТС-661.00.05 | 377 | 6; 9 | 580 | 140 | 162 | 80 |
| ТС-661.00.06 | 426 | 7; 10 | 660 | 160 | 196 | 80 |
| ТС-661.00.07 | 530 | 8; 11 | 770 | 200 | 226 | 80 |
| ТС-661.00.08 | 630 | 8; 12 | 870 | 240 | 226 | 150 |
| ТС-661.00.09 | 720 | 9; 11 | 960 | 280 | 266 | 150 |
| ТС-661.00.10 | 820 | 9; 11 | 1060 | 300 | 266 | 150 |
| ТС-661.00.11 | 920 | 10; 14 | 1160 | 320 | 266 | 150 |
| ТС-661.00.12 | 1020 | 10; 14 | 1260 | 360 | 286 | 150 |
| ТС-661.00.13 | 1220 | 11 | 1480 | 400 | 336 | 150 |
| ТС-661.00.14 | 1420 | 14 | 1680 | 500 | 336 | 150 |
Таблица 3. Размеры опор ТС 661.00
| Обозначение | Dн трубопровода | k=S | B | l | H | m |
| ТС-662.00.00 | 108 | 4 | 70 | 115 | 238 | 30 |
| ТС-662.00.01 | 133 | 4 | 80 | 115 | 268 | 30 |
| ТС-662.00.02 | 159 | 4,5 | 90 | 117 | 328 | 30 |
| ТС-662.00.03 | 219 | 6 | 120 | 137 | 432 | 30 |
| ТС-662.00.04 | 273 | 6 | 120 | 137 | 492 | 80 |
| ТС-662.00.05 | 325 | 6 | 120 | 167 | 542 | 80 |
| ТС-662.00.06 | 377 | 9 | 140 | 167 | 596 | 80 |
| ТС-662.00.07 | 426 | 7 | 160 | 200 | 676 | 80 |
| ТС-662.00.08 | 530 | 8 | 200 | 230 | 786 | 80 |
| ТС-662.00.09 | 630 | 8 | 240 | 230 | 890 | 150 |
| ТС-662.00.10 | 720 | 9 | 280 | 270 | 980 | 150 |
| ТС-662.00.11 | 820 | 9 | 300 | 270 | 1080 | 150 |
| ТС-662.00.12 | 920 | 10 | 320 | 290 | 1184 | 150 |
| ТС-662.00.13 | 1020 | 10 | 360 | 290 | 1284 | 150 |
| ТС-662.00.14 | 1220 | 11 | 400 | 340 | 1504 | 150 |
| ТС-662.00.15 | 1420 | 14 | 500 | 340 | 1704 | 150 |
Таблица 4. Размеры опор ТС 662.00
| Обозначение | Dн трубопровода | k=S | B | l | H | m |
| ТС-663.00.00 | 219 | 6 | 120 | 137 | 432 | 30 |
| ТС-663.00.01 | 273 | 6 | 120 | 137 | 492 | 80 |
| ТС-663.00.02 | 325 | 6 | 120 | 167 | 542 | 80 |
| ТС-663.00.03 | 377 | 9 | 140 | 167 | 596 | 80 |
| ТС-663.00.04 | 426 | 7 | 160 | 200 | 676 | 80 |
| ТС-663.00.05 | 530 | 8 | 200 | 230 | 786 | 80 |
| ТС-663.00.06 | 630 | 8 | 240 | 230 | 890 | 150 |
| ТС-663.00.07 | 720 | 9 | 280 | 270 | 980 | 150 |
| ТС-663.00.08 | 820 | 9 | 300 | 270 | 1080 | 150 |
| ТС-663.00.09 | 920 | 10 | 320 | 290 | 1184 | 150 |
| ТС-663.00.10 | 1020 | 10 | 360 | 290 | 1284 | 150 |
| ТС-663.00.11 | 1220 | 11 | 400 | 340 | 1504 | 150 |
| ТС-663.00.12 | 1420 | 14 | 500 | 340 | 1704 | 150 |
Таблица 5. Размеры опор ТС 663.00
| Обозначение | Dн трубопровода | S | B | l | H | m | k |
| ТС-664.00.00 | 426 | 7 | 160 | 200 | 666 | 6 | 7 |
| ТС-664.00.01 | 530 | 8 | 200 | 230 | 786 | 7 | 8 |
| ТС-664.00.02 | 630 | 8 | 240 | 230 | 890 | 8 | 8 |
| ТС-664.00.03 | 720 | 9 | 280 | 270 | 980 | 8 | 9 |
| ТС-664.00.04 | 820 | 9 | 300 | 270 | 1080 | 8 | 9 |
| ТС-664.00.05 | 920 | 10 | 320 | 270 | 1184 | 8 | 10 |
| ТС-664.00.06 | 1020 | 10 | 360 | 290 | 1284 | 10 | 10 |
| ТС-664.00.07 | 1220 | 11 | 400 | 340 | 1504 | 10 | 11 |
| ТС-664.00.08 | 1420 | 14 | 500 | 340 | 1704 | 10 | 14 |
Таблица 6. Размеры опор ТС 664.00
| Обозначение | Dн трубопровода | D | S | H | B | l | m | k |
| ТС-665.00.00 | 530 | 580 | 8 | 816 | 200 | 226 | 80 | 8 |
| ТС-665.00.01 | 630 | 684 | 10 | 920 | 240 | 226 | 150 | 10 |
| ТС-665.00.02 | 720 | 774 | 10 | 1012 | 280 | 266 | 150 | 10 |
| ТС-665.00.03 | 820 | 878 | 12 | 1114 | 300 | 266 | 150 | 10 |
Таблица 7. Размеры опор ТС 665.00
| Обозначение | Dн трубопровода | S | D | l | c |
| ТС-666.00.00 | 108 | 4 | 225 | 110 | 20 |
| ТС-666.00.01 | 133 | 4 | 245 | 110 | 20 |
| ТС-666.00.02 | 159 | 5 | 282 | 110 | 20 |
| ТС-666.00.03 | 219 | 7 | 365 | 110 | 30 |
| ТС-666.00.04 | 273 | 8 | 420 | 110 | 30 |
| ТС-666.00.05 | 325 | 8 | 480 | 110 | 30 |
| ТС-666.00.06 | 377 | 9 | 540 | 110 | 30 |
| ТС-666.00.07 | 426 | 7; 10 | 610 | 132 | 30 |
| ТС-666.00.08 | 530 | 7 | 670 | 152 | 40 |
| ТС-666.00.09 | 530 | 9 | 740 | 162 | 40 |
| ТС-666.00.10 | 630 | 8 | 780 | 152 | 40 |
| ТС-666.00.11 | 630 | 10 | 870 | 152 | 40 |
| ТС-666.00.12 | 720 | 9 | 975 | 152 | 40 |
| ТС-666.00.13 | 720 | 11 | 975 | 152 | 40 |
| ТС-666.00.14 | 820 | 9 | 1110 | 196 | 40 |
| ТС-666.00.15 | 820 | 11 | 1110 | 196 | 40 |
| ТС-666.00.16 | 920 | 10 | 1220 | 226 | 40 |
| ТС-666.00.17 | 920 | 10 | 1220 | 226 | 40 |
| ТС-666.00.18 | 1020 | 10 | 1330 | 266 | 40 |
| ТС-666.00.19 | 1020 | 14 | 1330 | 266 | 40 |
| ТС-666.00.20 | 1220 | 11 | 1570 | 286 | 40 |
| ТС-666.00.21 | 1220 | 14 | 1570 | 286 | 40 |
| ТС-666.00.22 | 1420 | 14 | 1820 | 300 | 40 |
| ТС-666.00.23 | 1420 | 14 | 1820 | 300 | 40 |
Таблица 8. Размеры опор ТС 666.00
| Обозначение | Dн трубопровода | S | D | l | c |
| ТС-667.00.00 | 426 | 7 | 610 | 144 | 30 |
| ТС-667.00.01 | 530 | 8 | 740 | 174 | 40 |
| ТС-667.00.02 | 630 | 8 | 870 | 174 | 40 |
| ТС-667.00.03 | 720 | 9 | 975 | 174 | 40 |
| ТС-667.00.04 | 820 | 9 | 1110 | 238 | 40 |
| ТС-667.00.05 | 920 | 10 | 1220 | 242 | 40 |
| ТС-667.00.06 | 1020 | 10 | 1330 | 282 | 40 |
| ТС-667.00.07 | 1220 | 11 | 1570 | 302 | 40 |
| ТС-667.00.08 | 1420 | 10 | 1640 | 306 | 40 |
| ТС-667.00.09 | 1420 | 14 | 1820 | 315 | 40 |
Таблица 9. Размеры опор ТС 667.00
| Обозначение | Dн трубопровода | S | H | l | k |
| ТС-668.00.00 | 219 | 6 | 164 | 80 | 6 |
| ТС-668.00.01 | 273 | 7 | 200 | 100 | 6 |
| ТС-668.00.02 | 325 | 8 | 240 | 100 | 6 |
| ТС-668.00.03 | 377 | 9 | 277 | 120 | 8 |
| ТС-668.00.04 | 426 | 7; 9 | 310 | 120 | 8 |
| ТС-668.00.05 | 530 | 7; 8; 9 | 388 | 160 | 8 |
| ТС-668.00.06 | 630 | 7; 9; 10; 11 | 327 | 200 | 8 |
| ТС-668.00.07 | 720 | 8; 10; 11; 12 | 372 | 200 | 8 |
| ТС-668.00.08 | 820 | 8; 9; 10; 12 | 422 | 200 | 8 |
| ТС-668.00.09 | 920 | 8; 9; 10; 12 | 476 | 250 | 8 |
| ТС-668.00.10 | 1020 | 9; 10; 11; 12; 14 | 526 | 250 | 10 |
| ТС-668.00.11 | 1220 | 9; 11; 12; 14 | 626 | 300 | 10 |
| ТС-668.00.12 | 1420 | 10; 14 | 726 | 300 | 10 |
| ТС-668.00.13 | 377 | 9 | 410 | 120 | 8 |
| ТС-668.00.14 | 426 | 7 | 460 | 120 | 8 |
| ТС-668.00.15 | 530 | 7 | 560 | 160 | 8 |
| ТС-668.00.16 | 630 | 7 | 410 | 200 | 8 |
| ТС-668.00.17 | 720 | 7 | 460 | 200 | 8 |
| ТС-668.00.18 | 820 | 9 | 520 | 200 | 8 |
| ТС-668.00.19 | 920 | 10 | 580 | 250 | 10 |
| ТС-668.00.20 | 1020 | 10 | 640 | 250 | 10 |
| ТС-668.00.21 | 1220 | 11 | 750 | 300 | 10 |
| ТС-668.00.22 | 1420 | 14 | 870 | 300 | 10 |
Таблица 10. Размеры опор ТС 668.00
| Обозначение | Dн трубопровода | S | H | B | l | k | K1 | K2 |
| ТС-669.00.00 | 108 | 4 | 110 | 70 | 115 | 4 | 5 | 3 |
| ТС-669.00.01 | 133 | 4 | 134 | 80 | 115 | 4 | 5 | 3 |
| ТС-669.00.02 | 159 | 4.5 | 164 | 90 | 117 | 4 | 5 | 3 |
| ТС-669.00.03 | 219 | 6; 7 | 216 | 120 | 117 | 6 | 5 | 5 |
| ТС-669.00.04 | 273 | 7; 8 | 246 | 120 | 137 | 6 | 5 | 5 |
| ТС-669.00.05 | 325 | 7; 8 | 270 | 120 | 167 | 6 | 6 | 5 |
| ТС-669.00.06 | 377 | 9 | 300 | 140 | 167 | 6 | 6 | 5 |
| ТС-669.00.07 | 426 | 7; 9 | 338 | 160 | 200 | 7 | 6 | 5 |
| ТС-669.00.08 | 530 | 7; 8; 9 | 393 | 200 | 226 | 7 | 6 | 5 |
| ТС-669.00.09 | 630 | 7; 9; 10; 11 | 445 | 240 | 230 | 7 | 8 | 6 |
| ТС-669.00.10 | 720 | 8; 10; 11; 12 | 490 | 280 | 270 | 8 | 8 | 6 |
| ТС-669.00.11 | 820 | 8; 9; 10; 12 | 540 | 300 | 270 | 8 | 8 | 6 |
| ТС-669.00.12 | 920 | 8; 9; 10; 12 | 592 | 320 | 270 | 8 | 8 | 6 |
| ТС-669.00.13 | 1020 | 10; 11; 12; 14 | 642 | 360 | 290 | 8 | 8 | 6 |
| ТС-669.00.14 | 108 | 4 | 110 | 70 | 115 | 4 | 5 | 3 |
| ТС-669.00.15 | 133 | 4 | 134 | 80 | 115 | 4 | 5 | 3 |
| ТС-669.00.16 | 159 | 4.5 | 164 | 90 | 117 | 4 | 5 | 3 |
| ТС-669.00.17 | 219 | 6; 7 | 216 | 120 | 117 | 6 | 5 | 5 |
| ТС-669.00.18 | 273 | 7; 8 | 246 | 120 | 137 | 6 | 5 | 5 |
| ТС-669.00.19 | 325 | 7; 8 | 270 | 120 | 167 | 6 | 6 | 5 |
| ТС-669.00.20 | 377 | 9 | 300 | 140 | 167 | 6 | 6 | 5 |
| ТС-669.00.21 | 426 | 7; 9 | 338 | 160 | 200 | 7 | 6 | 5 |
| ТС-669.00.22 | 530 | 7; 8; 9 | 393 | 200 | 226 | 7 | 6 | 5 |
| ТС-669.00.23 | 630 | 7; 9; 10; 11 | 445 | 240 | 230 | 7 | 8 | 6 |
| ТС-669.00.24 | 720 | 8; 10; 11; 12 | 490 | 280 | 270 | 8 | 8 | 6 |
| ТС-669.00.25 | 820 | 8; 9; 10; 12 | 540 | 300 | 270 | 8 | 8 | 6 |
| ТС-669.00.26 | 920 | 8; 9; 10; 12 | 592 | 320 | 270 | 8 | 8 | 6 |
| ТС-669.00.27 | 1020 | 10; 11; 12; 14 | 642 | 360 | 290 | 8 | 8 | 6 |
Таблица 11. Размеры опор ТС 669.00
| Обозначение | Dн трубопровода | S | H | H1 | B | B1 | k | k1 | a | e |
| ТС-670.00.00 | 57 | 3.0 | 100 | 130 | 30 | 95 | 3 | 4 | 5 | 2 |
| ТС-670.00.01 | 150 | 180 | ||||||||
| ТС-670.00.02 | 200 | 230 | ||||||||
| ТС-670.00.03 | 76 | 3.5 | 100 | 138 | 50 | 115 | 3 | 4 | 5 | 2 |
| ТС-670.00.04 | 150 | 188 | ||||||||
| ТС-670.00.05 | 200 | 238 | ||||||||
| ТС-670.00.06 | 89 | 3.5 | 100 | 145 | 50 | 130 | 4 | 4 | 5 | 2 |
| ТС-670.00.07 | 150 | 195 | ||||||||
| ТС-670.00.08 | 200 | 245 | ||||||||
| ТС-670.00.09 | 108 | 3.5 | 100 | 154 | 90 | 150 | 4 | 4 | 5 | 2 |
| ТС-670.00.10 | 150 | 204 | ||||||||
| ТС-670.00.11 | 200 | 254 | ||||||||
| ТС-670.00.12 | 133 | 4.0 | 100 | 165 | 90 | 195 | 4 | 4 | 5 | 2 |
| ТС-670.00.13 | 150 | 215 | ||||||||
| ТС-670.00.14 | 200 | 265 | ||||||||
| ТС-670.00.15 | 159 | 5.0 | 100 | 180 | 90 | 220 | 4 | 4 | 5 | 2 |
| ТС-670.00.16 | 150 | 230 | ||||||||
| ТС-670.00.17 | 200 | 280 | ||||||||
| ТС-670.00.18 | 219 | 6.0 | 100 | 210 | 180 | 290 | 6 | 6 | 8 | 5 |
| ТС-670.00.19 | 150 | 260 | ||||||||
| ТС-670.00.20 | 200 | 310 | ||||||||
| ТС-670.00.21 | 273 | 6.0 | 100 | 237 | 180 | 360 | 6 | 6 | 8 | 5 |
| ТС-670.00.22 | 150 | 287 | ||||||||
| ТС-670.00.23 | 200 | 337 | ||||||||
| ТС-670.00.24 | 325 | 6.0 | 100 | 263 | 280 | 435 | 6 | 6 | 8 | 5 |
| ТС-670.00.25 | 150 | 313 | ||||||||
| ТС-670.00.26 | 200 | 363 | ||||||||
| ТС-670.00.27 | 377 | 6.0 | 100 | 289 | 280 | 485 | 6 | 6 | 8 | 5 |
| ТС-670.00.28 | 150 | 339 | ||||||||
| ТС-670.00.29 | 200 | 389 |
Таблица 12. Размеры опор ТС 670.00
| Обозначение | Dн трубопровода | S | L | d | H | H1 | B | B1 | a | e | k | k1 |
| ТС-671.00.00 | 377 | 6.0 | 340 | 20 | 100 | 290 | 280 | 480 | 8 | 5 | 6 | 6 |
| ТС-671.00.01 | 150 | 340 | ||||||||||
| ТС-671.00.02 | 200 | 390 | ||||||||||
| ТС-671.00.03 | 426 | 7.0 | 340 | 24 | 100 | 315 | 280 | 540 | 8 | 5 | 6 | 7 |
| ТС-671.00.04 | 150 | 365 | ||||||||||
| ТС-671.00.05 | 200 | 415 | ||||||||||
| ТС-671.00.06 | 530 | 8.0 | 340 | 24 | 100 | 365 | 380 | 640 | 10 | 4 | 8 | 8 |
| ТС-671.00.07 | 150 | 415 | ||||||||||
| ТС-671.00.08 | 200 | 465 | ||||||||||
| ТС-671.00.09 | 630 | 8.0 | 340 | 30 | 100 | 415 | 380 | 750 | 10 | 4 | 8 | 8 |
| ТС-671.00.10 | 150 | 465 | ||||||||||
| ТС-671.00.11 | 200 | 515 | ||||||||||
| ТС-671.00.12 | 720 | 9.0 | 680 | 30 | 100 | 460 | 500 | 840 | 10 | 4 | 8 | 9 |
| ТС-671.00.13 | 150 | 510 | ||||||||||
| ТС-671.00.14 | 200 | 560 | ||||||||||
| ТС-671.00.15 | 820 | 9.0 | 680 | 30 | 100 | 510 | 500 | 940 | 10 | 4 | 8 | 9 |
| ТС-671.00.16 | 150 | 560 | ||||||||||
| ТС-671.00.17 | 200 | 610 | ||||||||||
| ТС-671.00.18 | 920 | 10.0 | 680 | 30 | 100 | 560 | 500 | 1070 | 10 | 4 | 8 | 10 |
| ТС-671.00.19 | 150 | 610 | ||||||||||
| ТС-671.00.20 | 200 | 660 | ||||||||||
| ТС-671.00.21 | 1020 | 10.0 | 680 | 30 | 100 | 610 | 600 | 1185 | 14 | 8 | 10 | 10 |
| ТС-671.00.22 | 150 | 660 | ||||||||||
| ТС-671.00.23 | 200 | 710 | ||||||||||
| ТС-671.00.24 | 1220 | 11.0 | 680 | 36 | 100 | 710 | 700 | 1380 | 14 | 8 | 10 | 11 |
| ТС-671.00.25 | 150 | 760 | ||||||||||
| ТС-671.00.26 | 200 | 810 | ||||||||||
| ТС-671.00.27 | 1420 | 14.0 | 680 | 36 | 100 | 810 | 700 | 1590 | 14 | 8 | 10 | 14 |
| ТС-671.00.28 | 150 | 860 | ||||||||||
| ТС-671.00.29 | 200 | 910 |
Таблица 13. Размеры опор ТС 671.00
Характеристики
Основная характеристика опор является осевая, боковая и (или) вертикальная сила. Ниже в таблицах приведены данные характеристики.
| Обозначение | Dн трубопровода | Осевая сила Q, kH |
| ТС-659.00.00 | 32 | 5 |
| ТС-659.00.01 | 38 | 5 |
| ТС-659.00.02 | 45 | 5 |
| ТС-659.00.03 | 57 | 5 |
| ТС-659.00.04 | 76 | 10 |
| ТС-659.00.05 | 89 | 10 |
| ТС-659.00.06 | 108 | 25 |
| ТС-659.00.07 | 133 | 25 |
| ТС-659.00.08 | 159 | 25 |
| ТС-659.00.09 | 219 | 25 |
Таблица 14. Нагрузки на опоры, произведенные по серии ТС 659.00.
| Обозначение | Dн трубопровода | k=S | Осевая сила Q, kH |
| ТС-660.00.00 | 32 | 1,8 | 15 |
| ТС-660.00.01 | 38 | 2 | 15 |
| ТС-660.00.02 | 45 | 2 | 15 |
| ТС-660.00.03 | 57 | 3 | 20 |
| ТС-660.00.04 | 76 | 3 | 20 |
| ТС-660.00.05 | 89 | 3 | 20 |
| ТС-660.00.06 | 108 | 3,5 | 30 |
| 4 | 40 | ||
| ТС-660.00.07 | 133 | 4 | 40 |
| ТС-660.00.08 | 159 | 4 | 40 |
| ТС-660.00.09 | 219 | 4 | 40 |
| 8 | 60 | ||
| ТС-660.00.10 | 273 | 6 | 40 |
| 8 | 60 | ||
| ТС-660.00.11 | 325 | 6 | 40 |
| 8 | 70 | ||
| ТС-660.00.12 | 377 | 6 | 60 |
| 9 | 80 | ||
| ТС-660.00.13 | 426 | 7 | 60 |
| 10 | 100 | ||
| ТС-660.00.14 | 530 | 8 | 60 |
| 11 | 100 | ||
| ТС-660.00.15 | 630 | 8 | 80 |
| 12 | 150 | ||
| ТС-660.00.16 | 720 | 9 | 140 |
| 11 | 180 | ||
| ТС-660.00.17 | 820 | 10 | 150 |
| 12 | 220 | ||
| ТС-660.00.18 | 920 | 10 | 160 |
| ТС-660.00.19 | 1020 | 10 | 400 |
| ТС-660.00.20 | 1220 | 11 | 400 |
| ТС-660.00.21 | 1420 | 14 | 400 |
Таблица 15. Нагрузки на опоры, произведенные по серии ТС 660.00.
| Обозначение | Dн трубопровода | k=S | Осевая сила Q, kH |
| ТС-661.00.00 | 133 | 4 | 70 |
| 5 | 70 | ||
| ТС-661.00.01 | 159 | 4 | 100 |
| 5 | 100 | ||
| ТС-661.00.02 | 219 | 4 | 120 |
| 7 | 150 | ||
| ТС-661.00.03 | 273 | 6 | 120 |
| 8 | 180 | ||
| ТС-661.00.04 | 325 | 6 | 120 |
| 8 | 220 | ||
| ТС-661.00.05 | 377 | 6 | 150 |
| 9 | 250 | ||
| ТС-661.00.06 | 426 | 7 | 180 |
| 10 | 300 | ||
| ТС-661.00.07 | 530 | 8 | 180 |
| 11 | 250 | ||
| ТС-661.00.08 | 630 | 8 | 360 |
| 12 | 450 | ||
| ТС-661.00.09 | 720 | 9 | 360 |
| 11 | 550 | ||
| ТС-661.00.10 | 820 | 9 | 450 |
| 11 | 650 | ||
| ТС-661.00.11 | 920 | 10 | 480 |
| 14 | 550 | ||
| ТС-661.00.12 | 1020 | 10 | 750 |
| 14 | 950 | ||
| ТС-661.00.13 | 1220 | 11 | 1000 |
| ТС-661.00.14 | 1420 | 14 | 1000 |
Таблица 16. Нагрузки на опоры, произведенные по серии ТС 661.00.
| Обозначение | Dн трубопровода | Осевая сила Q, kH |
| ТС-662.00.00 | 108 | 50 |
| ТС-662.00.01 | 133 | 50 |
| ТС-662.00.02 | 159 | 60 |
| ТС-662.00.03 | 219 | 90 |
| ТС-662.00.04 | 273 | 100 |
| ТС-662.00.05 | 325 | 100 |
| ТС-662.00.06 | 377 | 150 |
| ТС-662.00.07 | 426 | 120 |
| ТС-662.00.08 | 530 | 140 |
| ТС-662.00.09 | 630 | 170 |
| ТС-662.00.10 | 720 | 200 |
| ТС-662.00.11 | 820 | 200 |
| ТС-662.00.12 | 920 | 250 |
| ТС-662.00.13 | 1020 | 280 |
| ТС-662.00.14 | 1220 | 350 |
| ТС-662.00.15 | 1420 | 550 |
Таблица 17. Нагрузки на опоры, произведенные по серии ТС 662.00.
| Обозначение | Dн трубопровода | Осевая сила Q, kH |
| ТС-663.00.00 | 219 | 140 |
| ТС-663.00.01 | 273 | 120 |
| ТС-663.00.02 | 325 | 120 |
| ТС-663.00.03 | 377 | 200 |
| ТС-663.00.04 | 426 | 150 |
| ТС-663.00.05 | 530 | 200 |
| ТС-663.00.06 | 630 | 200 |
| ТС-663.00.07 | 720 | 250 |
| ТС-663.00.08 | 820 | 250 |
| ТС-663.00.09 | 920 | 400 |
| ТС-663.00.10 | 1020 | 400 |
| ТС-663.00.11 | 1220 | 550 |
| ТС-663.00.12 | 1420 | 850 |
Таблица 18. Нагрузки на опоры, произведенные по серии ТС 663.00.
| Обозначение | Dн трубопровода | Осевая сила для опорных конструкций Q, kH | |
| железобетонных | стальных | ||
| ТС-664.00.00 | 426 | 400 | 400 |
| ТС-664.00.01 | 530 | 550 | 550 |
| ТС-664.00.02 | 630 | 550 | 550 |
| ТС-664.00.03 | 720 | 900 | 900 |
| ТС-664.00.04 | 820 | 900 | 900 |
| ТС-664.00.05 | 920 | 1100 | 1200 |
| ТС-664.00.06 | 1020 | 1300 | 1400 |
| ТС-664.00.07 | 1220 | 1100 | 1100 |
| ТС-664.00.08 | 1420 | 1700 | 1700 |
Таблица 19. Нагрузки на опоры, произведенные по серии ТС 664.00.
| Обозначение | Dн трубопровода | Осевая сила Q, kH |
| ТС-665.00.00 | 530 | 60 |
| ТС-665.00.01 | 630 | 70 |
| ТС-665.00.02 | 720 | 80 |
| ТС-665.00.03 | 820 | 90 |
Таблица 20. Нагрузки на опоры, произведенные по серии ТС 665.00.
| Обозначение | Dн трубопровода | S | Осевая сила Q, kH |
| ТС-666.00.00 | 108 | 4 | 50 |
| ТС-666.00.01 | 133 | 4 | 70 |
| ТС-666.00.02 | 159 | 5 | 100 |
| ТС-666.00.03 | 219 | 7 | 200 |
| ТС-666.00.04 | 273 | 8 | 240 |
| ТС-666.00.05 | 325 | 8 | 300 |
| ТС-666.00.06 | 377 | 9 | 380 |
| ТС-666.00.07 | 426 | 7 | 320 |
| 10 | 550 | ||
| ТС-666.00.08 | 530 | 7 | 400 |
| ТС-666.00.09 | 530 | 9 | 550 |
| ТС-666.00.10 | 630 | 8 | 500 |
| ТС-666.00.11 | 630 | 10 | 850 |
| ТС-666.00.12 | 720 | 9 | 700 |
| ТС-666.00.13 | 720 | 11 | 950 |
| ТС-666.00.14 | 820 | 9 | 1300 |
| ТС-666.00.15 | 820 | 11 | 1650 |
| ТС-666.00.16 | 920 | 10 | 2200 |
| ТС-666.00.17 | 920 | 10 | 2200 |
| ТС-666.00.18 | 1020 | 10 | 2400 |
| ТС-666.00.19 | 1020 | 14 | 2400 |
| ТС-666.00.20 | 1220 | 11 | 3100 |
| ТС-666.00.21 | 1220 | 14 | 3100 |
| ТС-666.00.22 | 1420 | 14 | 3300 |
| ТС-666.00.23 | 1420 | 14 | 3300 |
Таблица 21. Нагрузки на опоры, произведенные по серии ТС 666.00.
| Обозначение | Dн трубопровода | Осевая сила Q, kH |
| ТС-667.00.00 | 426 | 550 |
| ТС-667.00.01 | 530 | 800 |
| ТС-667.00.02 | 630 | 1150 |
| ТС-667.00.03 | 720 | 1450 |
| ТС-667.00.04 | 820 | 1800 |
| ТС-667.00.05 | 920 | 2250 |
| ТС-667.00.06 | 1020 | 2650 |
| ТС-667.00.07 | 1220 | 3650 |
| ТС-667.00.08 | 1420 | 4850 |
| ТС-667.00.09 | 1420 | 6000 |
Таблица 22. Нагрузки на опоры, произведенные по серии ТС 667.00.
| Обозначение | Dн трубопровода | S | Боковая сила T, kH |
| ТС-668.00.00 | 219 | 6 | 7.5-15 |
| ТС-668.00.01 | 273 | 7 | 10-30 |
| ТС-668.00.02 | 325 | 8 | 10-30 |
| ТС-668.00.03 | 377 | 9 | 20-50 |
| ТС-668.00.04 | 426 | 7 | 25-60 |
| 9 | 40-90 | ||
| ТС-668.00.05 | 530 | 7 | 35-70 |
| 8 | 40-85 | ||
|
|
9 | 50-110 | |
| ТС-668.00.06 | 630 | 7 | 40-70 |
| 9 | 60-120 | ||
| 10 | 80-160 | ||
| 11 | 90-180 | ||
| ТС-668.00.07 | 720 | 8 | 50-90 |
| 10 | 70-140 | ||
| 11 | 80-170 | ||
| 12 | 100-210 | ||
| ТС-668.00.08 | 820 | 8 | 40-90 |
| 9 | 50-110 | ||
| 10 | 60-130 | ||
| 12 | 90-190 | ||
| ТС-668.00.09 | 920 | 8 | 50-100 |
| 9 | 60-120 | ||
| 10 | 80-160 | ||
| 12 | 120-270 | ||
| ТС-668.00.10 | 1020 | 9 | 60-120 |
| 10 | 70-140 | ||
| 11 | 80-170 | ||
| 12 | 100-200 | ||
| 14 | 120-270 | ||
| ТС-668.00.11 | 1220 | 9 | 60-120 |
| 11 | 90-180 | ||
| 12 | 100-200 | ||
| 14 | 120-270 | ||
| ТС-668.00.12 | 1420 | 10 | 60-140 |
| 14 | 120-270 | ||
| ТС-668.00.13 | 377 | 9 | 70 |
| ТС-668.00.14 | 426 | 7 | 90 |
| ТС-668.00.15 | 530 | 7 | 90 |
| ТС-668.00.16 | 630 | 7 | 100 |
| ТС-668.00.17 | 720 | 7 | 120 |
| ТС-668.00.18 | 820 | 9 | 220 |
| ТС-668.00.19 | 920 | 10 | 270 |
| ТС-668.00.20 | 1020 | 10 | 270 |
| ТС-668.00.21 | 1220 | 11 | 270 |
| ТС-668.00.22 | 1420 | 14 | 270 |
Таблица 23. Нагрузки на опоры, произведенные по серии ТС 668.00.
| Обозначение | Dн трубопровода | S | Осевая сила Q, kH | Вертикальная сила P, kH |
| ТС-669.00.00 | 108 | 4 | 25 | 25 |
| ТС-669.00.01 | 133 | 4 | 25 | 25 |
| ТС-669.00.02 | 159 | 4.5 | 30 | 25 |
| ТС-669.00.03 | 219 | 6 | 70 | 40 |
| 7 | 90 | 50 | ||
| ТС-669.00.04 | 273 | 7 | 90 | 50 |
| 8 | 120 | 50 | ||
| ТС-669.00.05 | 325 | 7 | 90 | 50 |
| 8 | 120 | 50 | ||
| ТС-669.00.06 | 377 | 9 | 150 | 50 |
| ТС-669.00.07 | 426 | 7 | 90 | 70 |
| 9 | 150 | 70 | ||
| ТС-669.00.08 | 530 | 7 | 80 | 70 |
| 8 | 100 | 70 | ||
| 9 | 120 | 70 | ||
| ТС-669.00.09 | 630 | 7 | 100 | 70 |
| 9 | 140 | 100 | ||
| 10 | 180 | 100 | ||
| 11 | 220 | 100 | ||
| ТС-669.00.10 | 720 | 8 | 120 | 80 |
| 10 | 200 | 100 | ||
| 11 | 250 | 100 | ||
| 12 | 300 | 100 | ||
| ТС-669.00.11 | 820 | 8 | 120 | 80 |
| 9 | 160 | 100 | ||
| 10 | 200 | 100 | ||
| 12 | 300 | 100 | ||
| ТС-669.00.12 | 920 | 8 | 120 | 80 |
| 9 | 160 | 100 | ||
| 10 | 220 | 100 | ||
| 12 | 400 | 100 | ||
| ТС-669.00.13 | 1020 | 10 | 220 | 100 |
| 11 | 260 | 100 | ||
| 12 | 350 | 100 | ||
| 14 | 450 | 100 | ||
| ТС-669.00.14 | 108 | 4 | 25 | 25 |
| ТС-669.00.15 | 133 | 4 | 25 | 25 |
| ТС-669.00.16 | 159 | 4.5 | 30 | 25 |
| ТС-669.00.17 | 219 | 6 | 70 | 40 |
| 7 | 90 | 50 | ||
| ТС-669.00.18 | 273 | 7 | 90 | 50 |
| 8 | 120 | 50 | ||
| ТС-669.00.19 | 325 | 7 | 90 | 50 |
| 8 | 120 | 50 | ||
| ТС-669.00.20 | 377 | 9 | 150 | 50 |
| ТС-669.00.21 | 426 | 7 | 90 | 70 |
| 9 | 150 | 70 | ||
| ТС-669.00.22 | 530 | 7 | 80 | 70 |
| 8 | 100 | 70 | ||
| 9 | 120 | 70 | ||
| ТС-669.00.23 | 630 | 7 | 100 | 70 |
| 9 | 140 | 100 | ||
| 10 | 180 | 100 | ||
| 11 | 220 | 100 | ||
| ТС-669.00.24 | 720 | 8 | 120 | 80 |
| 10 | 200 | 100 | ||
| 11 | 250 | 100 | ||
| 12 | 300 | 100 | ||
| ТС-669.00.25 | 820 | 8 | 120 | 80 |
| 9 | 160 | 100 | ||
| 10 | 200 | 100 | ||
| 12 | 300 | 100 | ||
| ТС-669.00.26 | 920 | 8 | 120 | 80 |
| 9 | 160 | 100 | ||
| 10 | 220 | 100 | ||
| 12 | 400 | 100 | ||
| ТС-669.00.27 | 1020 | 10 | 220 | 100 |
| 11 | 260 | 100 | ||
| 12 | 350 | 100 | ||
| 14 | 450 | 100 |
Таблица 24. Нагрузки на опоры, произведенные по серии ТС 669.00.
| Обозначение | Dн трубопровода | H | Осевая сила Q, kH | Боковая сила T, kH | Вертикальная сила P, kH |
| ТС-670.00.00 | 57 | 100 | 20 | - | 10 |
| ТС-670.00.01 | 150 | ||||
| ТС-670.00.02 | 200 | ||||
| ТС-670.00.03 | 76 | 100 | 20 | - | 10 |
| ТС-670.00.04 | 150 | ||||
| ТС-670.00.05 | 200 | ||||
| ТС-670.00.06 | 89 | 100 | 20 | - | 4,2 |
| ТС-670.00.07 | 150 | ||||
| ТС-670.00.08 | 200 | ||||
| ТС-670.00.09 | 108 | 100 | 50 | 20 | 5,7 |
| ТС-670.00.10 | 150 | ||||
| ТС-670.00.11 | 200 | ||||
| ТС-670.00.12 | 133 | 100 | 60 | 20 | 6,0 |
| ТС-670.00.13 | 150 | ||||
| ТС-670.00.14 | 200 | ||||
| ТС-670.00.15 | 159 | 100 | 60 | 20 | 8,8 |
| ТС-670.00.16 | 150 | ||||
| ТС-670.00.17 | 200 | ||||
| ТС-670.00.18 | 219 | 100 | 160 | 100 | 12,5 |
| ТС-670.00.19 | 150 | ||||
| ТС-670.00.20 | 200 | ||||
| ТС-670.00.21 | 273 | 100 | 240 | 150 | 24 |
| ТС-670.00.22 | 150 | ||||
| ТС-670.00.23 | 200 | ||||
| ТС-670.00.24 | 325 | 100 | 300 | 200 | 31 |
| ТС-670.00.25 | 150 | ||||
| ТС-670.00.26 | 200 | ||||
| ТС-670.00.27 | 377 | 100 | 380 | 200 | 37 |
| ТС-670.00.28 | 150 | ||||
| ТС-670.00.29 | 200 |
Таблица 25. Нагрузки на опоры, произведенные по серии ТС 670.00.
| Обозначение | Dн трубопровода | H | Осевая сила Q, kH | Боковая сила T, kH | Вертикальная сила P, kH |
| ТС-671.00.00 | 377 | 100 | 380 | 200 | 37 |
| ТС-671.00.01 | 150 | ||||
| ТС-671.00.02 | 200 | ||||
| ТС-671.00.03 | 426 | 100 | 350 | 200 | 45 |
| ТС-671.00.04 | 150 | ||||
| ТС-671.00.05 | 200 | ||||
| ТС-671.00.06 | 530 | 100 | 400 | 250 | 50 |
| ТС-671.00.07 | 150 | ||||
| ТС-671.00.08 | 200 | ||||
| ТС-671.00.09 | 630 | 100 | 500 | 250 | 66 |
| ТС-671.00.10 | 150 | ||||
| ТС-671.00.11 | 200 | ||||
| ТС-671.00.12 | 720 | 100 | 650 | 350 | 84 |
| ТС-671.00.13 | 150 | ||||
| ТС-671.00.14 | 200 | ||||
| ТС-671.00.15 | 820 | 100 | 750 | 350 | 105 |
| ТС-671.00.16 | 150 | ||||
| ТС-671.00.17 | 200 | ||||
| ТС-671.00.18 | 920 | 100 | 850 | 350 | 130 |
| ТС-671.00.19 | 150 | ||||
| ТС-671.00.20 | 200 | ||||
| ТС-671.00.21 | 1020 | 100 | 1000 | 600 | 157 |
| ТС-671.00.22 | 150 | ||||
| ТС-671.00.23 | 200 | ||||
| ТС-671.00.24 | 1220 | 100 | 1300 | 600 | 220 |
| ТС-671.00.25 | 150 | ||||
| ТС-671.00.26 | 200 | ||||
| ТС-671.00.27 | 1420 | 100 | 1800 | 600 | 292 |
| ТС-671.00.28 | 150 | ||||
| ТС-671.00.29 | 200 |
Таблица 26. Нагрузки на опоры, произведенные по серии ТС 671.00.
Материалы
Неподвижные опоры, произведенные по серии 5.903-13, производятся из следующих сталей:
-
Углеродистая сталь ГОСТ 380, 1050
-
17ГС-12 ГОСТ 19281
-
17Г1С-12 ГОСТ 19281
-
14Г2-12 ГОСТ 19281
-
09Г2С по ГОСТ 19281
Для производства крепежных деталей, находящихся вблизи трубопровода, используются следующие марки стали:
-
30Х ГОСТ 4543
-
35Х ГОСТ 4543
-
40Х ГОСТ 4543
Резьба на деталях должна соответствовать ГОСТ24705-81. Стандарты на крепежные изделия указываются в чертежах. Все антикоррозийные покрытия должны выбираться по ГОСТ 9.303-84 в зависимости от условий эксплуатации, определяемых по ГОСТ 15150-69. В случае наличии защиты от электрокоррозии в опорах используется паронит. Опоры должны быть покрашены двойным слоем по грунту краской БТ-177 по ГОСТ 5631. Элементы опор, которые не подлежат окраске, должны быть защищены от коррозии смазкой ПВХ по ГОСТ 19537.
Рекомендации по применению
Опоры настоящего стандарта рекомендовано использовать на тепловые сети. Данные опоры не рекомендовано применять на трубопроводах с теплоносителем выше 425 градусов Цельсия и давлением свыше 40 МПа.
Как правильно выбрать
В зависимости от диаметра трубопровода выбирают определенные исполнения опор. В таблице 27 приводится зависимость исполнение и тип опор от диаметра трубопровода.
| Тип опор | Наименование опор | Диаметр трубопровода (мм) |
| ТС-659.00.00 | Опора неподвижная хомутовая | 32-219 |
| ТС-660.00.00 | Опора неподвижная двухупорная | 32-1420 |
| ТС-661.00.00 | Опора неподвижная четырехупорная | 133-1420 |
| ТС-662.00.00 | Опора неподвижная двухупорная усиленная | 108-1420 |
| ТС-663.00.00 | Опора неподвижная двухупорная усиленная | 219-1420 |
| ТС-664.00.00 | Опора неподвижная четырехупорная усиленная | 426-1420 |
| ТС-665.00.00 | Опора неподвижная двухупорная сальниковых компенсаторов | 530-820 |
| ТС-666.00.00 | Опора неподвижная щитовая | 108-1420 |
| ТС-667.00.00 | Опора неподвижная щитовая усиленная | 426-1420 |
| ТС-668.00.00 | Опора неподвижная боковая | 219-1420 |
| ТС-669.00.00 | Опора неподвижная хомутовая | 108-1020 |
| ТС-670.00.00 | Опора неподвижная хомутовая с корпусом | 57-377 |
| ТС-671.00.00 | Опора неподвижная бугельная с корпусом | 377-1420 |
Таблица 27. Классификация опор.
Выбор стали при производстве опор зависит от минимальной расчетной температуры наружного воздуха. В таблице 28 приводится данная зависимость
| Минимальная расчетная температура, С0 | Марка стали опоры |
| -30 | Углеродистая сталь ГОСТ 380, 1050 |
| -40 | 17ГС, 17Г1С, 14Г2 ГОСТ 19281 |
| -60 | 09Г2С ГОСТ 19281 |
Таблица 28. Зависимость используемой марки стали от минимальной расчетной температуры.
В зависимости от воспринимаемой горизонтальной силы применяются щитовые, двухупорные и четырехупорные опоры. Если горизонтальные нагрузки повышенные, то данные опоры должны быть усиленными. Если помимо горизонтальных нагрузок присутствуют еще и вертикальные, то рекомендовано использовать неподвижные опоры с хомутом или бугелем.
Транспортировка
Транспортировка неподвижных опор, произведенных по серии 5.903-13, регламентируется разделом 5 данной серии. Упаковка деталей сборочных единиц должна соответствовать категории КУ-1 по ГОСТ 23170 и обеспечивать их сохранность в условиях транспортирования Л по ГОСТ 23170. Детали опор должны быть уложены комплектно в деревянные ящики по ГОСТ 10198. Допускается отгрузка в универсальные контейнеры по ГОСТ 20435. Опоры допускается транспортировать любым видом транспорта.
Хранение
Опоры хранят в закрытых помещениях, рассортированные по маркам и видам. Помещение должно быть сухим для исключения появления преждевременной коррозии. Упаковка деталей сборочных единиц должна соответствовать категории КУ-1 по ГОСТ 23170 и обеспечивать их сохранность в условиях хранения 4 (Ж2) по ГОСТ 15150.
Контроль качества, гарантия и срок эксплуатации
Контроль качества, гарантийные обязательства и срок эксплуатации регламентируются в ТУ заводов-производителей. Контроль сварных швов на опорах регламентируется СНиП III-18-75. Срок эксплуатации должен фигурировать в сертификате качества, который прилагается к поставляемым опорам. Данный срок зависит от выбранной марки стали, типа опоры и климатического района эксплуатации данных опор.
Монтаж
Расстояние между опорами определяется нагрузкой на трубопровод. Она зависит от диаметра труб и, соответственно, массы транспортируемого вещества, а также условий эксплуатации и других факторов. Чаще всего расстояние между опорами выбирается следующее:
-
при диаметре до 40 мм – порядка 2-3 метров
-
при диаметре 50-100 мм – порядка 5 метров
-
при диаметре свыше 100 мм – порядка 8-10 м
Данные значения приведены условно
В зависимости от жёсткости труб и условий эксплуатации рассчитывается размер промежутка между опорами. Непосредственно монтаж производится с помощью электродуговой сварки, полуавтоматической сварки или сварки в защитных газах. Контроль качества сварных швов опор и трубопровода регламентируется РД-03-94. Для защиты от электрокоррозии при монтаже возможно использовать прокладку из паронита по ГОСТ 481, снабженную оцинкованным стальным листом ГОСТ 14918 для предохранения изоляции от механических повреждений. Паронит и стальной кожух между собой соединяются битумом марки М IV ГОСТ 9548.
Вес изделия
| Опоры трубопровода серия 5.903-13 вып 7.95 | |||||||||||||||
| Вес (кг) | |||||||||||||||
| ТС | 659 | 660 | 661 | 662 | 663 | 664 | 665 | 666 | 667 | 668 | 669 | 670 | 671 | ||
| S (для ТС-669) | 4-6 | 7 | 8-14 | ||||||||||||
| ТС-ХХХ.00.00 | 0,30 | 0,56 | 8,80 | 5,60 | 19,14 | 74,20 | 32,00 | 8,40 | 48,80 | 24,80 | 3,50 | 3,80 | 34,00 | ||
| ТС-ХХХ.00.01 | 0,30 | 0,56 | 13,20 | 5,92 | 18,64 | 92,80 | 33,60 | 8,80 | 69,20 | 24,50 | 3,80 | 4,40 | 37,40 | ||
| ТС-ХХХ.00.02 | 0,40 | 0,64 | 23,30 | 8,36 | 21,60 | 109,60 | 40,00 | 10,40 | 97,40 | 28,80 | 5,10 | 4,00 | 40,80 | ||
| ТС-ХХХ.00.03 | 0,40 | 1,04 | 22,50 | 15,70 | 28,78 | 133,00 | 41,60 | 16,40 | 114,30 | 33,40 | 9,60 | 10,00 | 4,30 | 45,40 | |
| ТС-ХХХ.00.04 | 0,50 | 1,12 | 25,20 | 15,20 | 46,04 | 140,00 | 18,40 | 142,80 | 59,10 | 12,10 | 9,80 | 5,50 | 49,00 | ||
| ТС-ХХХ.00.05 | 0,50 | 1,28 | 28,30 | 17,40 | 59,30 | 162,00 | 23,80 | 212,40 | 74,10 | 12,10 | 12,10 | 6,60 | 52,40 | ||
| ТС-ХХХ.00.06 | 1,20 | 4,24 | 53,40 | 22,10 | 73,20 | 198,00 | 27,80 | 262,20 | 79,60 | 15,00 | 4,80 | 62,98 | |||
| ТС-ХХХ.00.07 | 1,20 | 4,40 | 64,60 | 37,00 | 90,00 | 257,00 | 45,60 | 334,60 | 97,00 | 23,00 | 23,00 | 5,90 | 68,38 | ||
| ТС-ХХХ.00.08 | 1,30 | 6,60 | 67,70 | 46,00 | 95,20 | 304,00 | 33,30 | 282,00 | 102,90 | 28,60 | 28,60 | 7,10 | 73,88 | ||
| ТС-ХХХ.00.09 | 1,50 | 11,60 | 82,40 | 54,80 | 108,00 | 50,40 | 430,00 | 122,70 | 38,10 | 38,10 | 6,30 | 69,60 | |||
| ТС-ХХХ.00.10 | 11,30 | 86,40 | 66,80 | 141,20 | 37,40 | 139,60 | 45,60 | 7,60 | 75,30 | ||||||
| ТС-ХХХ.00.11 | 12,60 | 92,00 | 70,40 | 184,80 | 70,80 | 185,80 | 49,00 | 8,90 | 80,80 | ||||||
| ТС-ХХХ.00.12 | 14,10 | 105,00 | 76,00 | 224,00 | 48,80 | 206,60 | 53,50 | 7,90 | 144,80 | ||||||
| ТС-ХХХ.00.13 | 26,70 | 136,00 | 99,20 | 81,60 | 44,00 | 68,50 | 9,90 | 159,40 | |||||||
| ТС-ХХХ.00.14 | 32,30 | 151,00 | 128,80 | 87,60 | 70,70 | 3,80 | 10,50 | 173,70 | |||||||
| ТС-ХХХ.00.15 | 33,80 | 152,00 | 140,30 | 93,40 | 4,20 | 10,90 | 164,50 | ||||||||
| ТС-ХХХ.00.16 | 41,20 | 110,00 | 99,40 | 5,60 | 12,20 | 178,80 | |||||||||
| ТС-ХХХ.00.17 | 43,20 | 169,00 | 119,30 | 9,80 | 10,00 | 13,50 | 192,50 | ||||||||
| ТС-ХХХ.00.18 | 46,00 | 122,60 | 140,10 | 14,50 | 10,00 | 20,90 | 199,50 | ||||||||
| ТС-ХХХ.00.19 | 52,80 | 197,40 | 170,10 | 14,50 | 14,50 | 23,70 | 213,30 | ||||||||
| ТС-ХХХ.00.20 | 68,40 | 149,00 | 191,40 | 17,70 | 26,50 | 227,10 | |||||||||
| ТС-ХХХ.00.21 | 75,60 | 239,20 | 259,30 | 26,00 | 26,00 | 24,50 | 241,10 | ||||||||
| ТС-ХХХ.00.22 | 190,00 | 239,30 | 32,00 | 32,00 | 27,40 | 258,20 | |||||||||
| ТС-ХХХ.00.23 | 411,00 | 46,20 | 46,20 | 30,20 | 274,50 | ||||||||||
| ТС-ХХХ.00.24 | 54,50 | 30,50 | 298,10 | ||||||||||||
| ТС-ХХХ.00.25 | 59,00 | 33,90 | 316,40 | ||||||||||||
| ТС-ХХХ.00.26 | 64,50 | 37,30 | 334,70 | ||||||||||||
| ТС-ХХХ.00.27 | 78,00 | 32,80 | 329,20 | ||||||||||||
| ТС-ХХХ.00.28 | 36,20 | 348,00 | |||||||||||||
| ТС-ХХХ.00.29 | 39,60 | 372,30 | |||||||||||||
Цена на продукцию
Полный прайс-лист на продукцию находится в разделе стоимость продукции
Отправьте заявку для получения коммерческого предложения или уточнения стоимости продукции, которую Вам не удалось найти в прайс-листе.
Вопросы - Ответы
Все вопросы ответыОтправьте заявку и узнайте актуальные цены на продукцию
Обработаем заявку и свяжемся с Вами в течении 1-ого часа







